イントロダクション
2050年のカーボンニュートラル実現に向けて、エネルギーの作り方、運び方、貯め方を根底から変える技術開発が世界中で加速しています。とりわけ日本では、水素の大規模製造、洋上風力の本格導入、そして液化水素の安全な輸送・貯蔵といった領域が、次世代のエネルギーインフラを支える重要テーマとなっています。
今回のVol.57では、こうした未来のエネルギー社会を支える3つの特許技術に注目しました。水から水素をつくり出す熱化学プロセスのボトルネックを解消する「カチオン交換膜」、日本の深海に適応する「浮体式洋上風力発電設備」、そしてマイナス253℃の液化水素を効率よく導入する「段階冷却型の貯留システム」です。
いずれの技術も、単なる研究開発の一例ではありません。エネルギーの安定供給、脱炭素化、産業競争力の強化という社会的要請に対し、知財の力で具体的な解決策を提示するものです。本号では、それぞれの発明がどのような課題から生まれ、どのような仕組みで未来のインフラを支えようとしているのかを、特許の観点から読み解いていきます。
水から無尽蔵のクリーンエネルギーを。究極の水素製造サイクルを飛躍させる「カチオン交換膜」の革新

燃焼しても地球温暖化の原因となる二酸化炭素(CO2)を排出しない「水素」は、環境に優しい次世代のクリーンエネルギーとして世界中で大きな期待を集めています。現在、クリーンに大量の水素を製造する手法として、高温の熱源(例えば高温ガス炉などの原子力エネルギーや太陽熱)を利用して水を分解する「熱化学水素製造プロセス」の研究が進められています。その中でも最も有望視されているのが、「ヨウ素−硫黄(IS)プロセス」です(基本技術としては米ゼネラルアトミック社が提案したもの)。このプロセスは、以下の3つの化学反応を組み合わせて、水から水素と酸素を製造します。
1. ブンゼン反応
ヨウ素(I2)と二酸化硫黄(SO2)と水を反応させ、ヨウ化水素(HI)と硫酸(H2SO4)を生成する。
2. 水素生成反応
HIを分解して、ヨウ素(I2)と水素(H2)を生成する。
3. 酸素生成反応
H2SO4を分解して、二酸化硫黄(SO2)、水、および酸素(O2)を生成する。
この一連のサイクルの中で、ヨウ素(I2)と二酸化硫黄(SO2)は触媒のように循環し、消費されないため、外部からは水と熱を与えるだけで水素を作り続けることができます。しかし、このプロセスを実用化するためには、中心となる「ブンゼン反応」において非常に大きな技術的課題が存在していました。
膜ブンゼン反応の原理(量子科学技術研究開発機構科学技術振興機構HPより)
今回は、その課題を根本から解決するための「カチオン(陽イオン)交換膜」の製造技術に関する特許(特許第6861329号)について解説します。
1.背景と課題
ISプロセスの核となるブンゼン反応では、生成されたHIとH2SO4という2種類の酸が混ざり合うため、これらを分離してそれぞれの次の反応工程へ送る必要があります。従来は重さの違い(密度差)を利用した液−液分離操作が行われていましたが、これには生成される水素の1000倍もの物質量に相当する大量のヨウ素(I2)を添加しなければならず、効率低下とコスト増大の要因となり、ISプロセスの産業化を阻む大きな壁となっていました。
そこで、大量のヨウ素添加を不要にするため、電気の力で分離を行う「膜ブンゼン反応」という手法が考案されました。これは、プロトン(H+)だけを透過させる「カチオン交換膜」という特殊な膜で反応器を仕切り、カソード側でHIを、アノード側でH2SO4を別々に生成する仕組みです。
しかし、従来のフッ素系イオン交換膜(ナフィオン等)を使用すると、高濃度の硫酸に触れることでプロトン伝導性が低下し、余分な電圧(過電圧)がかかってしまうという問題がありました。また、膜のベース素材にスチレン類を結合(グラフト重合)させた代替膜も検討されましたが、膜が水分を吸って過度に膨潤してしまい、本来通してはいけないSO2まで透過してしまうことや、プロトンを選択的に通す効率(H+輸率)が低下してしまうという課題がありました。
2−1.発明の目的
本発明は、熱化学水素製造ISプロセスの膜ブンゼン反応器に使用するための、過度な膨潤を抑え、SO2の透過を強力に防ぎながら、高いプロトン(H+)輸送効率を維持できる「優れたカチオン交換膜を効率よく製造する方法」を提供することを目的としています。
2−2.発明の詳細
本発明の核心は、高分子膜(例えばフッ素系樹脂フィルム)に対して放射線を照射し、スルホン酸基(イオンを通す役割)の元となる「スチレン誘導体等」を結合(グラフト重合)させる際に、特定の「多官能性化合物(架橋剤)」を絶妙な比率で組み合わせて同時に重合させる点にあります。
1. 架橋構造の形成
多官能性化合物(例えばジビニルベンゼンなど)を特定の割合(1〜70体積%、好ましくは3〜10体積%)で混合して重合させることで、膜の内部に「架橋構造(網目状の強固な結合)」が形成されます。
2. 膨潤の抑制と選択性の向上
この架橋構造が、カチオン交換膜が水分を吸って過度に膨張(膨潤)するのを物理的に押さえ込みます。結果として、SO2という不要な物質が膜をすり抜けるのを防ぐと同時に、プロトン(H+)だけを効率よく運ぶ能力(H+輸率)が劇的に向上します。
3.ここがポイント!
本発明の最大のポイントは、膜ブンゼン反応器において「膨潤抑制」と「選択透過性」と「高いH+輸率」を同時に実現した点にあります。
膜ブンゼン反応器の概念図
下図は、本発明のカチオン交換膜(101)でアノード室(104)とカソード室(105)が仕切られた反応器を示しています。電流を流すことでアノード(102)側ではSO2と水からH2SO4とプロトン(H+)が生成され、そのH+が本発明の膜(101)を透過してカソード(103)側へ移動し、HIを生成します。

電解試験による反応進行の証明
実施例として、実際に作製した膜を用いて反応試験が行われました。下図のグラフはアノード室において時間の経過とともにH2SO4濃度が上昇しSO2濃度が減少していることを示しています。

また、次の図のグラフはカソード室においてHI濃度が上昇しI2濃度が減少していることを示しています。

これにより、極めて低いヨウ素濃度(2.5 mol/kg-H2O以下)でも、両極で目的の反応が正しく、かつ効率的に進行することが実証されました。
膨潤抑制と透過バリア性のデータ
含水率の推移を示す図や、水の透過流束を示す図のグラフは、本発明の製造方法による膜が、従来のナフィオン膜や多官能性化合物を添加しない膜と比較して、明らかに「水を含みにくく」「水を通しにくい」特性を持つことを示しています。


SO2は水に非常に溶けやすいため、水分の保持・透過を抑えられる本発明の膜は、そのまま強力な「SO2透過防止バリア」として機能することを意味しています。実際、この膜を用いた場合のH+輸率(プロトンを運ぶ効率)は0.8を超え、最大で1.0(100%の理想値)に達するという極めて高い性能を示しました。
4.未来予想
この技術により、ISプロセスの最大のネックであった「大量のヨウ素循環」という課題がクリアされ、熱化学水素製造のシステム規模やコストを劇的に縮小できる可能性が開けました。将来的には、この高性能カチオン交換膜を組み込んだ膜ブンゼン反応器と、安全性の高い高温ガス炉(HTGR)から得られる熱と電力を組み合わせることで、化石燃料に一切依存せず、水から大規模・高効率・低コストでグリーン水素を連続製造する巨大プラントが実現すると予想されます。このイノベーションは、未来の水素社会を根底から支える究極のクリーンエネルギー製造インフラとなる可能性を秘めています。
権利概要
| 掲載特許情報 | https://patents.google.com/patent/JP6861329B2/ja?oq=6861329 |
| 発明の名称 | 熱化学水素製造ヨウ素−硫黄(IS)プロセスの膜ブンゼン反応器に使用するカチオン交換膜の製造方法 |
| 出願番号 | 特願2016-26841 |
| 公開番号 | 特開2017-145297 |
| 特許番号 | 特許第6861329号 |
| 出願日 | 2016.2.16 |
| 公開日 | 2017.8.24 |
| 登録日 | 2021.4.1 |
| 審査請求日 | 2019.2.18 |
| 出願人 | 国立研究開発法人日本原子力研究開発機構 国立研究開発法人量子科学技術研究開発機構 |
| 発明者 | 八巻 徹也 澤田 真一 久保 真治 田中 伸幸 野村 幹弘 |
| 国際特許分類(IPC) |
C08J 5/22 (2006.01) C08F 8/36 (2006.01) C25B 1/24 (2021.01) C25B 13/08 (2006.01) C25B 1/22 (2006.01) C25B 9/00 (2021.01) |
| 経過情報 | 平成27年度、国立研究開発法人科学技術振興機構、SIP(戦略的イノベーション創造プログラム)、産業技術力強化法第19条の適用を受ける特許出願 |
コンクリート×鋼のハイブリッド構造。日本の深海を制する「起き上がりこぼし」の安定力

日本の周囲には広大な海が広がっていますが、遠浅の海が少ないという地理的特徴があります。そのため、海底に基礎を固定する「着床式」の洋上風力発電を設置できるエリアは限定的です。そこで、水深の深い海域でも設置可能な「浮体式」の洋上風力発電が、日本の再生可能エネルギーの主力として大きな期待を集めています。
しかし、巨大な風車を海に浮かべて荒波や強風に耐えさせるためには、高度な設計技術とコストダウンの両立が不可欠です。
今回は、日本の海洋環境に最適化された「ハイブリッドスパー型」浮体技術を確立した特許(特許第6108445号)について解説します。
1.背景と課題
従来、海面に釣りの「浮き」のように縦長に浮かぶ「スパー型」の浮体構造は、経済性と安定性に優れていることが知られていました。しかし、実用化に向けては以下の2つの大きな課題がありました。
1. 組立てや設置時の破損リスクとコスト増大
コストを下げるために、コンクリート製の筒(プレキャスト筒状体)を積み上げて浮体を造る方法がありますが、海に浮かべるまでの組立てや運搬、横倒しから直立させる(建て起こす)際に、コンクリートに巨大な曲げ応力がかかり、破損する危険性がありました。これを防ぐために大掛かりな補強フレームを一時的に用意しなければならず、作業の手間とコストが増大していました。
2. 船舶の接触リスクと姿勢制御のジレンマ
波や風による揺れを抑えるために、浮体を海底につなぎ止める「係留点」を海面より上に設ける方法がありましたが、それでは接近する船舶が係留索に引っ掛かる危険が高まります。一方で、係留点を海面下に下げると、強風時に風車が傾きやすくなり、発電効率が落ちてしまうという問題がありました。
2−1.発明の目的
本発明は、船舶が係留索に接触する事故を防ぎつつ、風によるタワーの傾きを逆に利用して発電効率の低下を抑え、さらに組立て時の作業を容易にしてコストを大幅に低減できるスパー型の浮体式洋上風力発電設備を提供することを目的としています。
2−2.発明の詳細
この発明は、風車の配置、浮体の素材、そして係留の位置という複数の要素を緻密に組み合わせることで課題を解決しています。
・ダウンウィンド型風車の採用
風車のブレード(羽根)をタワーの「風下側」に配置し、少し上向きの角度(上向き角)をつけて設置します。
・コンクリートと鋼のハイブリッド浮体
浮体の下部をコンクリート製(プレキャスト筒状体を積み上げる)、海面付近から上部を鋼製にする構造を採用しました。これにより浮体の重心を極めて低くしています。
・海面下での係留と「アウターケーブル」による補強
係留点は安全のため海面下に設定し、かつ「浮体の重心よりも高い位置」にピンポイントで設定します。また、コンクリート製の筒を組み立てる際、外周に「アウターケーブル(緊張力を導入したワイヤーなど)」を巻き付けて一時的に締め付けることで、補強フレームなしで曲げ応力に耐えられるようにしました。
3.ここがポイント!
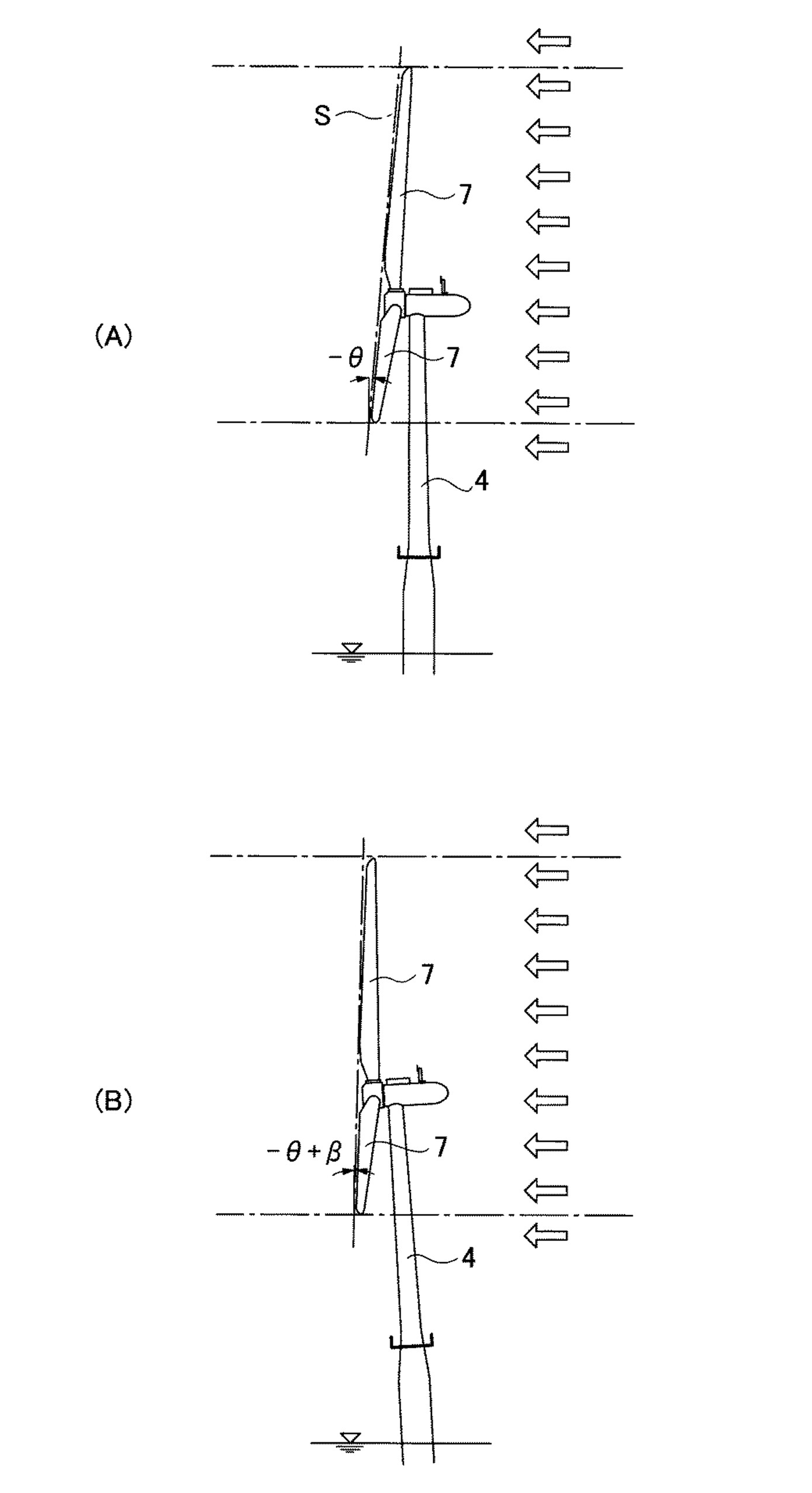
本発明の最大のポイントは、「抵抗モーメントによる自律的な姿勢制御」のメカニズムです。
係留索の係留点は「海面下」であり、かつコンクリートを用いたことで極めて低くなった「重心」よりも高い位置に設定されています。ここで強風が吹いてタワーが風下側へ傾こうとすると、係留点を支点として、重い重心が元の位置に戻ろうとする強力な抵抗モーメントを発生させます。
風で傾くほど、効率が上がる不思議なメカニズム】
図に示されるように、係留索(3)の係留点(P)は「海面下」であり、かつコンクリートを用いたことで極めて低くなった「重心(G)よりも高い位置」に設定されています。

ここでもし強風が吹いてタワー(4)が風下側へ傾こうとすると、下図に示されるように、係留点(P)を支点として、重い重心(G)が元の位置に戻ろうとする強力な抵抗モーメント(M)を発生させます。

これにより、タワーの倒れすぎを防ぐと同時に、あらかじめ上向き角をつけていたダウンウィンド型風車のブレード回転面が、タワーが傾くことでちょうど風に対して鉛直(真っ直ぐ)な状態になります。結果として風を最も効率よく受け止める姿勢となり、発電効率が約5%向上するという画期的な相乗効果を生み出しています。

4.未来予想
今後、浮体式洋上風力発電が沖合の深海域へと大量導入されていく中で、発電コストの低減は最大の至上命題となります。本特許のように、高価な大型起重機船や特殊な補強フレームに頼らず、分割したコンクリート部材を安全かつ効率的に組み立てる技術は、浮体インフラの量産化と大幅なコストダウンを可能にします。
さらに、この巨大で安定したハイブリッドスパー型浮体は、風力発電のみならず、将来的な液化水素生産・貯蔵プラットフォームの基礎構造としても応用される可能性を秘めています。日本の高度な土木・建築技術と機械技術が融合したこの知財は、次世代のクリーンエネルギー社会を根底から支える世界標準のプラットフォーム技術へと発展していくことが期待されます。
権利概要
| 掲載特許情報 | https://www.j-platpat.inpit.go.jp/c1801/PU/JP-6108445/15/ja |
| 発明の名称 | 浮体式洋上風力発電設備 |
| 出願番号 | 特願2013-50180 |
| 公開番号 | 特開2014-173586 |
| 特許番号 | 特許第6108445号 |
| 出願日 | 2013.3.13 |
| 公開日 | 2014.9.22 |
| 登録日 | 2017.3.17 |
| 審査請求日 | 2015.11.10 |
| 出願人 | 戸田建設株式会社、国立大学法人京都大学、株式会社日立製作所 |
| 発明者 | 佐藤 郁 浅野 均 宇都宮 智昭 吉田 茂雄 |
| 国際特許分類(IPC) | F03D 13/25 |
| 経過情報 |
マイナス253℃への「準備体操」。高価な液化水素のロスを防ぐ、段階冷却プロセス

世界的な脱炭素化(カーボンニュートラル)の動きの中、燃焼時にCO2を排出しない「水素」は、次世代のクリーンエネルギーとして大きな期待を集めています。特に、再生可能エネルギーの余剰電力や海外の未利用資源から製造した水素を、マイナス253℃の極低温まで冷却して液体にする「液化水素」の技術は、今後のグローバルな新エネルギー・サプライチェーン構築において不可欠です。液化水素は気体の状態に比べて体積を約800分の1に縮小できるため、大量輸送・大規模貯蔵に非常に適しているからです。しかし、絶対零度に近い極低温の液体を取り扱うため、貯留施設の運用には高度な熱管理技術が求められます。今回は、川崎重工業株式会社が特許を取得した、液化水素タンクへの効率的かつ安全な液化水素導入システム(特許第7449161号)について解説します。
1.背景と課題
液化水素を空のタンクに新たに導入する前には、安全上、まずタンク内の酸素や水分を完全に除去(パージ)する必要があります。従来は、常温の窒素ガスなどで酸素を除去した後に液化水素を導入していましたが、常温のタンク内にいきなり極低温(マイナス253℃)の液化水素を直接導入すると、急激な温度変化によってタンクが局所的に熱収縮を起こし、亀裂や変形が生じる恐れがありました。
これを防ぐために、液化水素自体の気化熱を利用してゆっくりとタンクを冷却する方法もありますが、タンクが十分に冷え切るまでの間、高価な液化水素が大量に気化して外部へ排出されてしまうという大きな問題がありました。特に将来を見据えて液化水素タンクを大型化しようとすると、冷却のために消費される液化水素の量が膨大になり、コスト増大や大気放出量の増加に直結してしまうという課題がありました。
2−1.発明の目的
本発明は、液化水素タンク内を液化水素が貯留できる極低温まで冷却するプロセスにおいて、液化水素が気化して消費される量を大幅に低減し、かつタンクを熱収縮によるダメージから守ることができる液化水素貯留方法およびシステムを提供することを目的としています。
2−2.発明の詳細
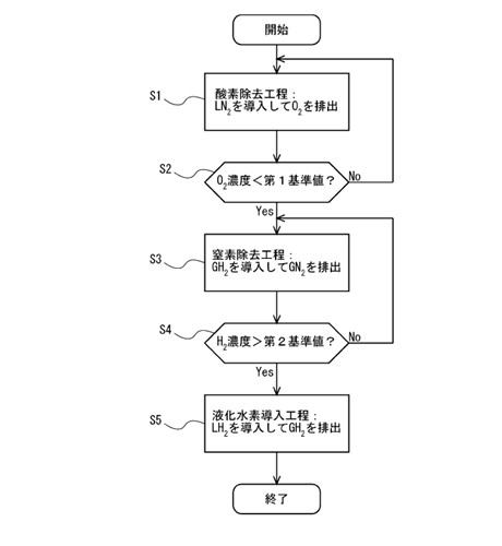
この発明では、いきなり液化水素を入れるのではなく、安価な「液化窒素(LN2)」と「低温水素ガス(GH2)」を活用して、段階的にタンクの冷却とガスの置換を行います。
1. 酸素除去と第1予冷(液化窒素の導入)
最初に液化窒素導入部から液化窒素をタンク内に導入します。これにより、タンク内の酸素を除去しつつ、液化窒素の冷熱を利用して常温のタンクをあらかじめ冷却(予冷)します。
2. 窒素除去と第2予冷(低温水素ガスの導入)
次に、液化水素を気化させた「低温ガス(水素ガス)」を導入します。この時のガス温度は-180℃前後(酸素除去終了時の温度に近い設定)にコントロールされています。これにより、急冷による窒素の固化や液化を防ぎながら、タンク内に残った窒素ガスを押し出して除去します。
3. 液化水素の導入
酸素と窒素が安全に除去され、タンク自体も十分に予冷された段階で、最後に液化水素導入部から液化水素(LH2)を導入し、貯留を開始します。
3.ここがポイント!
本発明の最大のポイントは、ガスの「比重」の違いを巧みに利用した効率的なパージメカニズムと、段階的な冷却システムにあります。
1. 空気(酸素)を抜く時
タンク下部の第2吐出口から液化窒素を導入します。冷却されて気化した低温の窒素ガスは、常温の空気よりも比重が重いため、タンクの底部から溜まっていき、残存空気を上へと押し上げます。押し上げられた空気は、上部の第1排出配管から効率的に排出されます。
2. 窒素を抜く時
次に、上部の第1吐出口から低温水素ガスを噴霧します。水素ガスは窒素ガスよりも比重が軽いため、タンクの上部に溜まっていき、残存窒素を下方へ押し下げます。押し下げられた窒素は、下部の第2排出配管から排出されます。

このように、液化窒素→低温水素ガス→液化水素という段階を踏むことで、急激な局所冷却によるタンクの破損を防ぎます。さらに、常温からの冷却の大部分を安価な液化窒素で行うため、液化水素貯留温度まで冷却するのに必要な高価な液化水素の消費量を、従来方法の約1/5程度に抑えられるとされています。

4.未来予想
今後、水素社会が本格的に到来し、大規模な水素発電や国際的な水素サプライチェーンが商用化されると、液化水素を受け入れるための貯蔵タンクは5万立方メートル級といった、かつてない巨大なサイズへとスケールアップしていきます。
タンクが大型化すればするほど、運用開始時の冷却ロスや大気放出量の問題が深刻化しますが、本特許技術を用いることで、超大型タンクであっても低コストかつ安全・確実に稼働させることが可能になります。この技術は、未来のクリーンエネルギー社会を根底から支える、世界標準のインフラ運用オペレーションとして定着していく可能性を秘めています。
権利概要
| 掲載特許情報 | https://patents.google.com/patent/JP7449161B2/ja?oq=7449161 |
| 発明の名称 | 液化水素貯留方法および液化水素貯留システム |
| 出願番号 | 特願2020-82361 |
| 公開番号 | 特開2021-177088 |
| 特許番号 | 特許第7449161号 |
| 出願日 | 2020.5.8 |
| 公開日 | 2021.11.11 |
| 登録日 | 2024.3.5 |
| 審査請求日 | 2023.4.10 |
| 出願人 | 川崎重工業株式会社 |
| 発明者 | 上地 拓摩 山口 貴裕 |
| 国際特許分類(IPC) | F17C 13/00 |
| 経過情報 |
