イントロダクション
AIの爆発的な進化は、人類にかつてない利便性をもたらすと同時に、巨大な電力需要という新たな課題を突きつけました。24時間止まることの許されないデータセンター、世界中を走り回るEV。この高度なインフラを支えるのは、華やかなAIモデルそのものではなく、その足元でエネルギーを制御し、蓄える「物理層」の技術です。
本号では、AI社会の生存を握る日本の特許技術に焦点を当てます。電力網を賢く束ね、無停止を保証するPanasonicのアルゴリズム。そして、過酷な環境下でも稼働し続ける村田製作所とTDKの革新的な全固体電池技術。これらは、エネルギーという『血液』を循環させるための強靭な『血管』と『心臓』に他なりません。 極限の信頼性が求められる現場で、日本の「モノづくり」がどうAIの未来を実装していくのか。その最前線を、特許という設計図から読み解きます
AIインフラの「電力無停止」を保証するアルゴリズム

AI技術の爆発的な発展に伴い、データセンターの電力消費は前例のない水準に達し、電力網に大きな負担をかけています。日本と米国はこれに対し、エネルギーインフラへの大規模な戦略的投資を推進することを計画しています。
このような電力網には、コストを抑えるための効率的な運用(経済性)と、AIインフラを24時間動かし続けるための絶対的な信頼性という、両立が難しい二つの役割が同時に求められます。さらに、一つの蓄電池がピークカットやデマンドレスポンスなど複数の電力サービスに同時に使われる(VPPモデル)際、片方のサービスが終わったときに、重要なもう一つのサービスを誤って中断させてしまうという技術的な課題が存在します。
今回は、パナソニックがこの高度な問題を解決するために公開した特許、WO2023042642A1(エネルギー資源制御方法)に焦点を当てます。この特許技術は、複数の電力サービスが競合する状況下で、終了したサービスに関わるリソースのうち、他の継続中のサービスに参加していないリソースのみに「状態復帰指令」を自動で送信する制御アルゴリズムに関するものです。
この「賢い制御」が、どのようにして次世代の電力グリッドとAIインフラの信頼性の基盤となるのか、その技術的詳細を解説します。
1.背景と課題
近年、従来の集中型エネルギーシステムから、太陽光発電や蓄電池(ESS)といった需要家側に分散して配置されるエネルギーリソース(対象機器)を活用する分散型エネルギーシステムへの転換が進んでいます。
これらのリソースは、アグリゲーター事業者等によって統合的に制御され、バーチャルパワープラント(VPP)として電力サービスが提供されています。
需要家が一つのエネルギーリソース(例:蓄電池)に対して複数の電力サービス(例:ピークカットとデマンドレスポンス)に同時に参加している場合、そのうちの一つのサービスが終了した際、他のサービスが継続していると、その機器に対する制御を適切に終了させ、元の状態(ローカル制御)に復帰させることができないという技術的な課題が存在していました。
2−1.発明の目的
本発明は、上記課題を解決し、複数の電力サービスが競合する場合でも、所望の制御条件での制御を適切かつ選択的に終了させ、エネルギーリソースの制御方法の利便性を向上させることを目的としています。

2−2.発明の詳細
無孔性親水性フィルム
本発明は、エネルギーリソース制御装置 10(アグリゲーターのサーバー装置の一例)の機能構成、動作フロー、およびシーケンスを規定するものです。

1. システム構成
本技術は、計測データを取得する取得部 11、制御指令(電力指令メッセージ)および状態復帰指令を生成する指令生成部 12、そして指令を対象機器に送信する出力部 13(指令送信部)を中心に構成されるエネルギーリソース制御装置 10によって実現されます。指令生成部 12は、計測データや契約内容に基づいて制御指令を生成します。

2. 制御フロー
核となるプロセスは、電力サービスの終了時に実行される状態復帰指令生成ステップ(S19)です。

<<前提条件の確認>>
例えば、第 1の電力サービス(例:ピークカット、長期間の制御、時刻 t1から t4)の制御期間中に、第 2の電力サービス(例:デマンドレスポンス、短期間の制御、時刻 t2から t3)が終了する時刻 t3が到来した場合を想定します。

<<選択的復帰指令の生成>>
指令生成部12は、第2の電力サービスが終了した時点(t3)において、エネルギーリソース(対象機器)が他の電力サービス(第 1の電力サービス)に参加しているか否かに基づいて、状態復帰指令を生成するかどうかを判定します。
<<復帰指令の送信対象>>
第2対象機器 31(第2のサービスのみ参加)のように、終了時点において他の電力サービスに参加していない機器に対してのみ状態復帰指令が生成され、送信されます。これにより、その機器はローカル制御(自動運転状態)等に復帰します。
<<復帰指令の非生成対象>>
第1対象機器 21(第1と第2のサービスの両方に参加)のように、終了時点(t3)において他の電力サービス(第1のサービス)に参加している機器に対しては、不要な制御の中断を避けるため、状態復帰指令は生成されません。
3. 復帰状態の決定(技術的オプション)
状態復帰指令生成ステップ(S19)において、復帰状態として以下のいずれかが決定される場合があります。
◦ 待機状態
◦ ローカル制御を行う自動運転状態
◦ 制御指令(S15)とは反対の状態
例えば、制御指令が二次電池を「放電」させるものであった場合、復帰状態を「充電」させる状態に決定できます。この場合、復帰後の入出力電力の値(充電量や放電量)を含む状態復帰指令を生成します。
4. ピークカットへの不適用
他の電力サービスが、施設の受電点における電力を所定の電力値以下に調整する電力サービス(例:ピークカット)を含む場合、そのサービスは常に提供されるため、当該リソースに対しては状態復帰指令を生成しません。
3.ここがポイント!
本特許は、今後日米で巨額の投資が見込まれるAIデータセンターやグリッドストレージ市場において、パナソニックの提供するESSの運用ソフトウェアの優位性を示すものといえそうです。
<<信頼性の両立>>
AIインフラ(AIデータセンターなど)は、電力利用の経済性(収益最大化)と、システムの絶対的な信頼性(無停止保証)の両方をESSに要求しますが、このアルゴリズムは、一つのサービスが終了しても、他の重要度の高いサービス(例:バックアップ電源)を継続して維持するための技術的保証を提供します。
<<運用効率の最適化>>
制御が終了した機器(他のサービスに参加していない機器)のみを自動でローカル制御に復帰させることで、不要な通信や制御の競合を防ぎ、システム全体の運用効率と利便性を向上させます。
<<技術非依存性>>
この制御方法は、リチウムイオン電池だけでなく、液流電池や圧縮空気エネルギー貯蔵(CAES)などの多様な蓄電技術に適用可能であり、将来の技術革新に対する戦略的なプラットフォームとなり得ます。
4.未来予想
1. AIデータセンター向け電力供給における「信頼性」の向上
AIインフラストラクチャの急速な展開は、既存の電力グリッドに前例のない負荷をかけており、ESSはグリッドの安定化と、データセンターの24時間無停止オペレーションの保証という相反する課題を解決する必要があります。
本特許が保護する「選択的な状態復帰アルゴリズム」は、AIデータセンターの高信頼性保証アルゴリズムとして機能し、ミッションクリティカルなバックアップ電源市場で優位性を確立する重要な発明といえます。この発明のロジックにより、その蓄電池が他の電力サービス(例:長期間のピークカット、バックアップ機能)に継続して参加しているか否かが判断され、重要サービスを中断させずに不要な制御のみを終了させることができます。この機能は、特に高出力でスペースに制約のあるBBU (Battery Backup Unit) アプリケーション(ジェネレーティブAIインフラが要求)にとって、極めて重要です。
2. エネルギー転換とグリッド運用収益の最大化(レベニュー・スタッキング)
本制御技術は、ESSアセットの利用効率と収益性を最大化し、日米のエネルギーインフラ投資の経済合理性を高めます。
この発明は、単一のESSを同時に複数の異なる電力サービス(例:周波数応答、ピークカット、エネルギー裁定取引)に提供可能にします。これにより、ESSアセットの利用率が向上し、電力会社やアグリゲーターにとって、例えば大規模な米国エネルギーインフラ投資(最大$332B)の下で、高価値の契約を獲得するための中心的な要素となるかもしれません。
この制御方法は、パナソニックのサステナビリティ目標である「Panasonic GREEN IMPACT (PGI)」
とも一致しています。再生可能エネルギー(風力や太陽光)の出力変動を補償するサービス(Ramp Rate Reductionなど)に不可欠であり、ESSを高度なグリッド安定化ソリューションとして位置づけることでしょう。
権利概要
| 発明の名称 | エネルギー資源制御方法、制御装置、及びプログラム |
| 出願番号 | PCT/JP2022/032208 |
| 公開番号 | WO2023042642A1 |
| 特許番号 | JP7611499B2 |
| 出願日 | 2022年8月26日 |
| 公開日 | 2023年3月23日 |
| 登録日 | 2025年1月10日 |
| 出願人 | パナソニックIPマネジメント株式会社 |
| 発明者 | 岡本 昭弘 藤井 学 吉岡 浩 森 有一 |
| 国際特許分類(IPC) |
H02J 3/32 H02J 13/00004 H02J 3/14 H02J 3/38 H02J 2310/14 H02J 2310/60 |
| 経過情報 | ヨーロッパにも国内移行されている(EP4404427A4)。 |
水蒸気劣化を内部から断つ。 固体電池の高信頼性を担保する構成要素一体型の耐湿構造。

次世代バッテリーである全固体電池(ASB)は、EVやAIインフラを含むエネルギー転換(GX)市場の核として、世界的に開発が加速しています。村田製作所は、特に表面実装(SMD)される小型ASBの市場投入を目指しています。
ASBの実用化における最大の課題は、空気中の水分が電池内部に侵入し、特性劣化を引き起こすことでした。従来の対策では水分侵入を十分に防げず、また、水分対策用の部材を別途設けることは小型化の妨げとなっていました。今回紹介する特許は、このような問題を解決することを目的とします。具体的にどのような技術なのか、詳説していきます。
1.背景と課題
現在、世界の産業界では、急速な電気自動車(EV)市場の成長と、再生可能エネルギーの導入拡大に伴って、エネルギー貯蔵システム(ESS)のようなクリティカルな電力インフラの強化が、戦略的課題となっています。この巨大なエネルギー転換(GX)の波を背景に、従来の液系リチウムイオン電池(LIB)の限界を克服する全固体電池(ASB)は、データセンターのバックアップ電源など、幅広いアプリケーションでの普及が世界規模で期待されています。
スマートフォンやノートパソコンなどの電子機器の電源として広く使われている従来の二次電池は、液体電解質(電解液)を使用するため、液漏れや、有機溶媒の可燃性による安全性確保が課題でした。
そこで、液体電解質に代えて固体電解質を用いる固体電池(全固体電池:ABS)の研究開発が進められています。
固体電池は、他の電子部品と共にプリント配線板などの基板上に表面実装することが多いですが、このとき空気中の水分(水蒸気)が侵入すると、電池特性の劣化が引き起こされる恐れがあるため、水分侵入防止のための確実な措置を講じる必要がありました。先行技術では、吸湿剤を電池ハウジングの外部に設けたり、ハウジングに添加したりする方法がとられていましたが、吸湿剤と電池との間に隙間が生じ、水分侵入を十分に防止することは困難でした。
2−1.発明の目的
本発明の主たる目的は、上記のような問題点に鑑み、基板への実装を考慮しつつも、固体電池に水分が侵入することを低減する技術を提供することです。
2−2.発明の詳細
<<吸湿材を構成要素に「混入」する構造>>
本特許が保護する技術の特徴は、水分侵入を低減するため、固体電池(1)のパッケージを構成する基本的な要素そのものに吸湿材を混入させるという革新的な構造設計にあります。

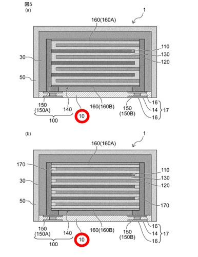
この固体電池は、正極層(110)、負極層(120)、およびそれらの間に介在する固体電解質層(130)が積層された積層部(140)を有する固体電池積層体(100)を備えています。
1. 外部端子(150)に混入(上図(a)参照)
積層部(140)の側面、すなわち積層の方向と交差する方向に設けられた外部端子(150)に吸湿材が混入されています。従来の固体電池では、この外部端子やその近傍から水分が侵入し劣化が生じる恐れがありました。外部端子を構成する導電性ペーストに吸湿材(例えば、合成ゼオライトやシリカゲル)を混入することで、水分が侵入しやすい部位で直接吸湿を行い、固体電池積層体(100)内への水分侵入を低減することが可能です。好ましい含有量は、外部端子全体を基準として1体積%以上25体積%以下とされています。
2. 非活性物質部(170)に混入
積層部(140)の側面の一部を成す非活性物質部(170)にも吸湿材を混入させることができます。

この非活性物質部(170)は、正極層(110)と負極側外部端子(150B)の間などを絶縁するために設けられる部分です。このように、積層部(140)の一部である非活性物質部(170)に吸湿材を混入させることで、水分侵入箇所により近い位置で水分を吸湿でき、より効果的に水分侵入を抑制できます。
3. 絶縁最外層(160)に混入
積層部(140)の最外側、例えば頂面側(160A)や底面側(160B)に設けられた絶縁最外層(160)に吸湿材が混入されている態様も示されています。

この層に吸湿材を混入させることで、積層方向(鉛直方向)からの予期せぬ水分侵入を低減することが可能となります。
4. 被覆絶縁膜(30)に混入
固体電池積層体(100)を少なくとも覆うように設けられた被覆絶縁膜(30)(好ましくは樹脂材)に吸湿材を混入させることもできます。

図に示すように、被覆絶縁膜(30)によって積層体全体が包み込まれるように封止されている場合、この膜自体に吸湿材が混入することで、外部環境からの水分侵入を低減できます。
5. 支持基板(10)に混入
固体電池積層体(100)を支持するために設けられた支持基板(10)の母材に吸湿材を混入させることができます。支持基板(10)は、半田リフローなどによる表面実装(SMD)を可能にする端子基板としての役割も持ち、セラミック基板(例えば、LTCC基板)で構成されることが好ましいです。

図に示すように、この支持基板に吸湿材を混入することで、電池への水分侵入を防止できます。
また、この発明は、上記のような基本構成要素のうち、複数の構成要素(2つ以上または全て)に吸湿材を混入させる実施態様も包含しています。
2−3.発明の効果
吸湿材を電池の構成要素自体に混入させるという構造的アプローチにより、以下の効果が得られます。
<<水分侵入の低減>>
従来技術と比較して、吸湿材が水分侵入経路となる構成要素(外部端子など)に直接存在するため、固体電池内部への水分侵入をより効果的に低減することが可能です。実験結果からも、吸湿材を混入させた固体電池は、混入させていない比較例と比べて放電容量の変化率が良好であることが確認されています。
<<エネルギー密度の維持と小型化>>
水分を吸湿するための部材を別途設ける必要がないため、固体電池積層体の体積増加を抑えることができ、体積あたりのエネルギー密度を低下させずにパッケージの小型化を実現できます。
3.ここがポイント!
本特許は、村田製作所が全固体電池の市場投入において、「高信頼性」と「量産性」という二律背反の要求を両立させるための戦略的な構造特許です。この発明による耐湿構造と小型化技術は、高い安全性と長期信頼性が要求されるAIデータセンター向けのUPS(無停電電源装置)や、小型電子機器、医療機器といった高付加価値市場での優位性を確立する基盤となります。
4.未来予想
本特許による耐湿性パッケージ構造は、全固体電池(ASB)が今後爆発的な成長が見込まれるAIエコシステムおよびエネルギー転換(GX)市場において、重要な基盤技術となり得ます。
(1) 高信頼性AIインフラ市場における必須要件の確保
今後、AIインフラの強化に伴い、データセンターや重要施設向けの無停電電源装置(UPS)外部端子自体に吸湿材を混入する構造によって、電池内部への水分侵入という劣化の最大要因を封じ込めることを可能にしました。これにより、ASBの安全かつ長期的な運用が技術的に担保されます。
(2) IoTおよびウェアラブル市場の信頼性向上と小型化
全固体電池は、スマートフォン、スマートウォッチ、医療機器、IoTデバイスなど、小型で高エネルギー密度が要求される分野で特に有用です。これらのデバイスはプリント基板上に電池を表面実装(SMD)することが主流ですが、本特許により電池の体積増加を抑えつつ耐湿性を向上させることができ、小型化と体積エネルギー密度の維持を両立させるようになるでしょう。
権利概要
| 発明の名称 | 固体電池 |
| 出願番号 | PCT/JP2021/024591 |
| 公開番号 | WO2022/004733 |
| 特許番号 | JP7704144B2 |
| 出願日 | 2021年6月29日 |
| 公開日 | 2022年1月6日 |
| 登録日 | 2025年6月30日 |
| 審査請求日 | 2022年12月12日 |
| 出願人 | 株式会社村田製作所 |
| 発明者 | 清水圭輔、開本拓郎、椎名澄人、 |
| 国際特許分類(IPC) |
H01M 10/0585 H01M 10/0562 H01M 10/052 |
全固体電池の長寿命を実現する中間層構造

電気自動車(EV)や大規模なエネルギー貯蔵システム(ESS)の市場が急拡大する現代において、次世代バッテリーとしての全固体電池は、日米を含むグローバルな戦略的技術となっています。このような市場において、TDKは、本質的に不燃性で製造安定性の高い酸化物系固体電解質を用いたASBの開発を推進しています。
しかし、ASBの商用化を阻む最大の技術的課題は、充放電サイクルを繰り返すことによる「サイクル寿命の信頼性」の低下でした。特に、量産プロセスでは、集電体層と活物質層の間に接合の不十分さ(未接合部)が生じやすく、これが局所的な反応を引き起こし、電池の長期的な性能を損なう原因となっていました。
TDKの特許 WO2019189311A1 は、この電極界面の構造的な問題を解決し、EVやESSが要求する長寿命化(高サイクル特性)技術です。この発明について詳述していきます。
1.背景と課題
急速に成長する電気自動車(EV)市場、IoTデバイスの普及、およびエネルギー貯蔵システム(ESS)の拡大に伴い、次世代バッテリーである全固体電池(ASB)の開発が、世界的な戦略的焦点となっています。この技術は、地域的な関心と政府の支援を受けた「次世代バッテリー戦略」の中核となるものです。
従来のリチウムイオン電池(Liquid Lithium-ion batteries, LIB)は、引火性の有機溶媒を電解質として使用するため、液漏れや発火のリスクを伴いますが、ASBは固体電解質を用いることで、本質的に高い安全性と信頼性を提供します。特にTDKが採用する酸化物系固体電解質は、不燃性という固有の安全性を持ち、大気中での製造安定性も高いという利点があります。
しかし、ASBの商業化と大規模展開、特にEVや大規模なグリッド向けESSへの導入には、いくつかの大きな課題が残されています。製造プロセスが複雑であり、コストが高止まりしている点に加え、長期的な性能維持、すなわち「サイクル寿命の信頼性」の確保が依然として最大の技術的ボトルネックです。EVやESSといった長期運用が求められるアプリケーションにおいては、従来のLIBに見られる充放電サイクルによる容量維持率の低下や、電極と固体電解質の間の剥離を防ぐ、さらなる信頼性の向上が不可欠です。
TDKの特許 WO2019189311A1は、まさにこの「高サイクル特性の確保」という構造的な課題を克服し、ASBの商業的成功に不可欠な長寿命化を実現するための技術を保護するものです。
従来の液系リチウムイオン電池(LIB)に比べ、全固体電池(ASB)は固体電解質を使用するため、液漏れや異常発熱の懸念がなく、高い安全性を有します。しかし、量産可能な製造方法を用いると、集電体層と活物質層の間の接合が不十分となり、未接合部が発生しやすいという課題がありました。この不十分な接合は、局所的な電気化学反応を引き起こし、電池のサイクル特性(長寿命性)を低下させる主要な原因でした。
2−1.発明の目的
本発明は、この界面の接合問題を構造的に解決し、高サイクル特性(長寿命)を有する全固体電池を提供することを目的としています。
2−2.発明の詳細
本特許は、全固体電池の電極構造に、応力緩和と接合強化を目的とした中間層を挿入する点に技術的な特徴があります。
1. 全体構造の概要
下図は、本発明の実施形態に係る全固体電池50の断面図を示しています。電池50は、正極集電体層51、正極活物質層52、負極集電体層53、負極活物質層54、および固体電解質層55が積層された構造を有します。

2. 特徴的な積層構造
長期信頼性を確保するため、本特許は以下の層間に中間層を設けます。
◦ 正極側:正極集電体層51と正極活物質層52の間に、第1の中間層56を形成します。
◦ 負極側:負極集電体層53と負極活物質層54の間に、第2の中間層57を形成します。
また、下図には、この全固体電池の基本的な構成単位である蓄電部10の断面図が示されており、同様に正極集電体層11と正極活物質層12の間に第1の中間層16が、負極集電体層13と負極活物質層14の間に第2の中間層17が配置されています。

3. 中間層の機能と材料
中間層の役割は、集電体と活物質の間の接合を改善し、未接合部を低減することです。これにより、充放電時に活物質の体積変化によって生じる機械的応力を緩和し、電気化学反応の局所化を防ぎ、サイクル特性を向上させることが可能になります。 中間層の材料としては、電子伝導性を有し、Li, V, Si, Al, Ge などの元素を含む非晶質材料であることが好ましいとされています。
4. 構造の実証
下図は、本実施形態の全固体電池における正極集電体層近傍の断面SEM像の代表例を示しており、正極集電体層と正極活物質層の間に第1の中間層が存在していることが確認できます。

3.ここがポイント!
この中間層構造は、TDKが注力する全固体電池(ASB)の競争力の源泉となります。
・長寿命化の達成
中間層による界面安定化は、EVや大規模ESSが要求する長期間の容量維持(高い容量維持率)を可能にし、比較例(中間層なし)で確認された顕著な容量維持率の低下を防ぎます。
・高度な製造技術
この積層構造は、TDKの多層セラミック製造技術(MLCC)で培われた、ペースト化、印刷(例:スクリーン印刷)、および同時焼成といった精密な製造プロセスと深く結びついており、競合他社が容易に模倣できない技術的障壁を構築します。
4.未来予想
TDKの特許 WO2019189311A1が保護する全固体電池(ASB)の界面安定化構造技術は、今後10年間で企業価値と市場構造に決定的な影響を与えると予測されます。この技術は、TDKが掲げるTDK Transformationという長期ビジョンの中核であり、日米が主導するAIエコシステムとエネルギー転換(GX)におけるTDKの競争優位性を確立するかもしれません。全固体電池市場は、2025年から2035年にかけて年平均成長率(CAGR)38%〜41.61%という、極めて急速な拡大が予測されており、WO2019189311A1の技術は、この成長を確実に取り込むための技術的ボトルネック(長寿命化)を解決すると考えられます。
権利概要
| 発明の名称 | 全固体電池 |
| 優先権 | PCT/JP2019/013095 |
| 公開番号 | WO2019189311A1 |
| 特許番号 | JP7553352B2 |
| 出願日 | 2019年3月27日 |
| 公開日 | 2019年10月3日 |
| 登録日 | 2024年9月18日 |
| 出願人 | TDK Corp |
| 発明者 | 上野哲也、磯道岳歩、竹内啓子 |
| 国際特許分類(IPC) |
H01M 4/58 H01M10/052 H01M10/0525 H01M10/0565 H01M 4/366 H01M 4/661 H01M 4/667 |
| 経過情報 | Ceased(停止)。ただし、JP特許など、同一優先日を持つ有効なファミリー特許が存在する。 |
