はじめに
スマートフォンをポケットやバッグから取り出したとき、勝手にカメラが起動して写真が撮れていたり、気づかないうちにライトが点灯してバッテリーが消耗していたりした経験はありませんか? これまでの電子機器のボタンは、押せばすぐに反応する便利なものでしたが、その反面、意図しないタイミングで押されてしまう「誤操作」という悩ましい問題がありました。 Appleから2026年1月22日に公開された発明は、この長年の課題を「物理的な構造」で解決するアイデアです。
ボタン自体をスライドさせることで、「押せる状態」と「押せない状態」を切り替える——ソフトウェアのロック画面だけでなく、ハードウェアレベルで誤操作をシャットアウトする新しいインターフェースが実現するかもしれません。
発明の名称: SLIDABLE LOCKING BUTTONS FOR ELECTRONIC DEVICE(電子機器用スライド式ロックボタン)
出願人名: Apple Inc.
公開日: 2026年1月22日
公開番号: US 2026/0025448 A1
https://www.j-platpat.inpit.go.jp/c1801/PU/US-a-260025448/50/ja
従来技術の問題点:偶発的な入力の弊害
現在のスマートフォンやタブレットの側面に配置されているボタンは、入力信号を受け取るために常に待機状態にあります。しかし、これには以下のような問題がありました。
- 偶発的な圧迫による誤動作 ポケット内での配置や、デバイスを手に取る際の握り方によって、ユーザーが意図せずにボタンを押してしまうことがあります。
- 不要な機能の起動と消耗 意図しないボタン操作は、勝手なカメラの起動、設定の変更、あるいはデバイスの電源オン/オフを引き起こし、結果としてバッテリー駆動時間を無駄に短くしたり、メモリを消費したりする原因となります
スライド式ロック機構
Appleの新しい特許出願は、ボタンアセンブリそのものが、筐体の側面に沿ってスライド移動できるというアプローチを提案しています。

【2つのポジションを持つボタン】
このボタンは「第1の位置」と「第2の位置」の間をスライドします。
・第1の位置(ロック状態): ボタンの突出部が筐体の壁に当たり、物理的に押し込むことができません。押し込みという「入力」に対して作動が阻止されます。
・第2の位置(作動可能状態): スライドさせることで障害物がなくなり(凹部と位置が合うなど)、通常通りボタンを押し込んでスイッチを作動させることができます。

センサーと触覚による「モード」の直感的操作
この発明のスマートな点は、単に動くだけでなく、ユーザーに確かな操作感と情報を与える仕組みが組み込まれていることです。
・心地よいクリック感(触覚フィードバック)
ボタン内部には「バネ部材」と「クロスメンバー」が内蔵されています。スライド操作を行う際、バネが変形してパチンとはまることで、ユーザーに明確な触覚フィードバックを提供し、ボタンを所定の位置に保持します。
・状態の検知と表示
磁気センサーなどの位置検知システムがボタンの状態(ロック中か、解除中か)を検出し、それに応じて画面上にグラフィカルなインジケータを表示することも想定されています。
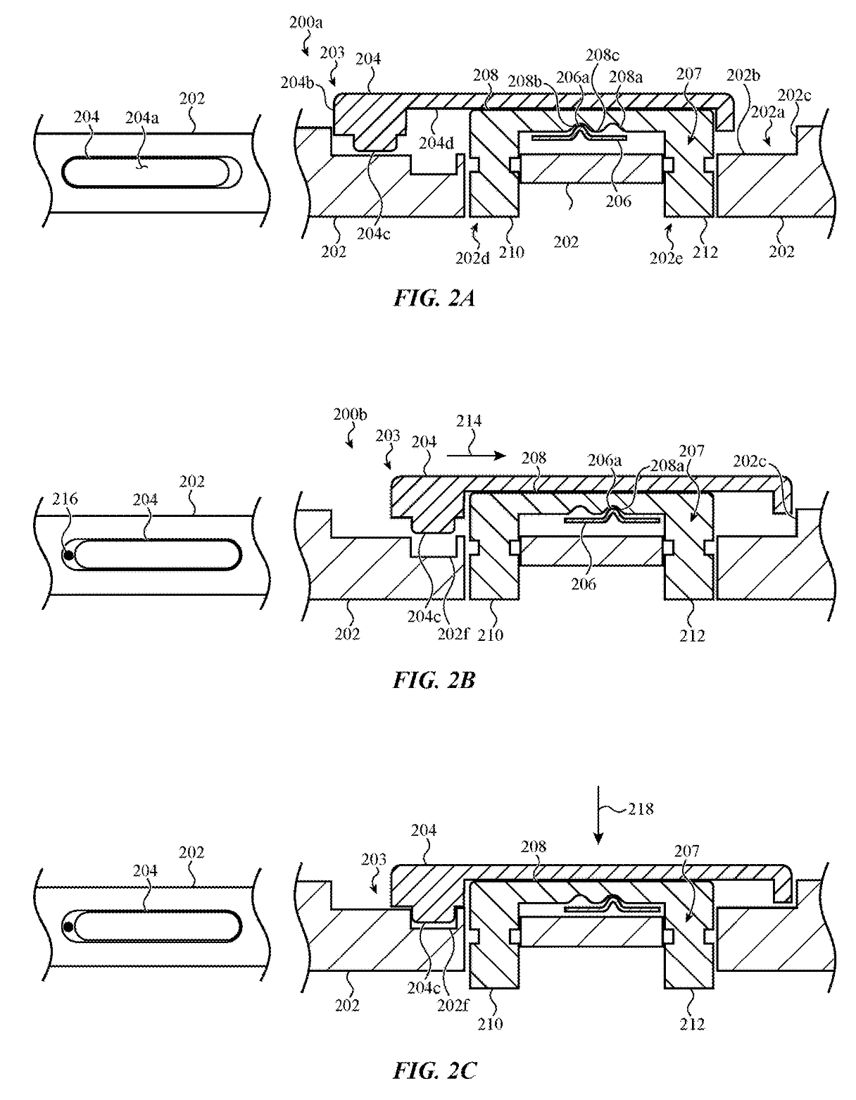
Fig.2は、ボタンがロック状態から作動可能状態へ移行する様子を示す断面図です。
・ロック状態(FIG. 2A)
ボタンキャップ(204)の一部である突出部(204c)が、筐体の壁面と干渉する位置にあります。この状態では、ボタンを押そうとしても壁に阻まれ、内部のスイッチを作動させることができません。
・スライド動作(FIG. 2B)
ユーザーがボタンを矢印(214)の方向へスライドさせます。内部のバネ(206a)がたわみながら、保持機能の山を越えて移動します。
・作動可能状態
スライドが完了すると、突出部が筐体の凹部(202f)と整列します。これにより干渉がなくなり、ボタンを押し込んで機能を実行できるようになります。
解決される課題
・物理的な誤操作防止
ソフトウェア的なロックだけでなく、ハードウェアとして「押せない」状態を作り出すことで、ポケット内での誤発信やカメラ起動を確実に防ぎます。
・直感的な使い分け
必要な時だけスライドしてロックを解除するという動作は、これまでの「マナーモードスイッチ」のような直感的な操作性を、電源ボタンや音量ボタンにも拡張するものです。
・シームレスな統合
位置センサーとの連携により、ボタンがロックされているかどうかが画面上でも確認でき、ユーザーは現在のモードを瞬時に把握できます。
まとめ
今回出願公開されたAppleの発明は、電子機器の押し込み可能なボタン操作に「スライド」という次元を加えるものです。これにより、誤操作のストレスから解放され、より確実で信頼性の高いデバイス操作が可能になることが期待されます。物理的な安心感とデジタルの利便性を融合させた、次なるインターフェースといえるでしょう。