はじめに
もし、あなたが毎日使っているノートパソコンが、仕事や勉強をしながらそっとあなたの健康状態をチェックしてくれるとしたら、どう思いますか?
これまで、私たちが使ってきたノートパソコンのような電子機器には、ユーザーの体調をモニターするような高度なセンサーはほとんど搭載されていませんでした。Appleから11月に出願公開された発明は、その常識を覆す画期的なアイデアです。キーボードの横にある、普段は何も見えないはずの場所に、あなたの健康情報を見守る技術が搭載されるかもしれません。
発明の名称:PORTABLE ELECTRONIC DEVICE HAVING AN INTEGRATED BIO SENSOR
出願人名:Apple Inc.
公開日:2025年11月20日
公開番号:US 2025/0352130A1
https://www.j-platpat.inpit.go.jp/c1801/PU/US-A-2025-0352130/50/ja
「見えないセンサー」であることの重要性
この発明が解決しようとした中心的な課題、それは、「センサーを搭載していることを感じさせない」という、デザインと使いやすさの両立です。
- センサーを「見えなくする」こと
センサーやその部品が外から見えてしまうと、パソコンの美しいデザインが損なわれてしまいます。この発明では、センサーが動いていない時は、まるでそこには何も無いかのように、ユーザーからその存在を完全に隠すことが重要な目標でした。 - 「いつも通り」使えること
健康を測るたびに特別なアプリを起動したり、指を特定の位置に正確に置いたりする必要があっては、長続きしません。この発明は、ユーザーがキーボードをいつも通り使っているだけで、特別な操作を一切意識することなく、ごく自然に健康情報を測定できることを目指しています。
この難しい課題の解決策の秘密は、「光」と「小さな穴」にあります。

光が通り抜ける「見えない穴」
この発明のコア技術は、一見するとただの板にしか見えないパソコンの表面から、どのようにして体の中の情報を読み取るか、という点にあります。その仕組みを3つのステップで見ていきましょう。
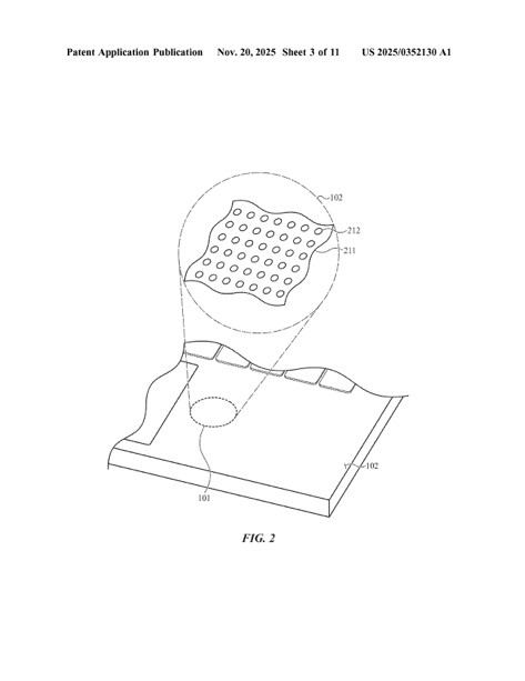
- 特殊な表面構造
一見するとただのアルミニウムやプラスチックの板ですが、その表面には肉眼では見破れない巧妙な仕掛けが施されています。ノートパソコンの表面、特にユーザーの手のひらが触れる部分(パームレスト)は、特殊な二重構造になっています。外側は光を通す「半透明の層」で、その内側には光を通さない「不透明な層」が重ねられています。そして、この不透明な層には、肉眼ではほとんど見えないほどの微細な穴が無数に開けられています。その穴の直径は、約30〜70ミクロン(1ミクロン = 0.001ミリメートル)。髪の毛の太さよりも細い、まさに「見えない穴」です。 - 光を肌に当てて、反射を読む
パソコンの内部には、この見えない穴の真下に光源と光受信機が隠されています。測定が始まると、まず光源がこれらの微細な穴を通して、表面に置かれたユーザーの肌(手のひら)に光を照射します。光は肌の内部に入り込み、血管を流れる血液などに当たって反射します。そして、その反射した光を、別の微細な穴を通して光受信機が捉えるのです。この反射光には、私たちの血流の状態など、体の内部の情報が「記録」されています。 - 光から健康情報を読み解く
光受信機が捉えた光の情報を、内部の処理装置が分析します。例えば、心臓が脈打つたびに血管を流れる血液の量は微妙に変化し、それによって光の反射の仕方も変わります。この周期的な変化を読み取ることで、心拍数を正確に算出することができるのです。


光で何がわかるの?
この「見えないバイオセンサー」は、光を使って私たちの体から様々な健康指標を測定することができます。単に数値を測るだけでなく、日々の生活の中で自分の様々な状態を把握するのに役立ちます。
- 心拍数
仕事中や勉強中のストレスレベルや、リラックスできているかを把握するのに役立ちます。例えば、パソコンの画面に「心拍数:101 BPM」といった形で、リアルタイムの情報を表示することも可能になります。 - 呼吸数
集中しているときや、逆に疲労が溜まっているときの状態を知る手がかりになります。 - 血中酸素濃度
体がどれだけ効率よく酸素を取り込めているかを示す重要な指標です。 - 血圧や血流量の推定
日々の循環器系の健康状態の変化を追跡するのに役立ちます。
まとめ:デバイスが健康を見守る時代
この発明の最も重要な点は、「日常生活で使う機器に、そのデザインや使い勝手を変えることなく、高度な健康モニタリング機能をシームレスに統合した」という点にあります。
センサーは「見えない穴」を通して機能するため、見た目はこれまでと何も変わりません。また、ユーザーは特別な操作をすることなく、ただパソコンを使っているだけで、自分の健康状態を把握できるようになります。
このような技術が普及すれば、私たちはもっと気軽に、そして自然に自身の健康に関心を持つようになるでしょう。日々の体調の変化に早く気づき、より健康的な生活を送るためのきっかけを、いつも使っているデバイスがそっと与えてくれる。そんな未来が、もうすぐそこまで来ているのです。
- 心拍数