はじめに
2025年9月11日に出願公開されたAppleの特許出願「DYNAMIC USER INTERFACE SCHEMES FOR AN ELECTRONIC DEVICE BASED ON DETECTED ACCESSORY DEVICES」(検出されたアクセサリーデバイスに基づく電子デバイスのための動的ユーザーインターフェーススキーム)は、私たちが日常的に使うスマートフォンやタブレットのユーザーインターフェース(UI)を大きく進化させるかもしれません。
この技術によれば、デバイスは装着されたケースやドックを単なる周辺機器としてではなく、「今、どのように使われているか」という状況(コンテキスト)を伝える重要な情報源として利用し始めることになります。
発明の名称:DYNAMIC USER INTERFACE SCHEMES FOR AN ELECTRONIC DEVICE BASED ON DETECTED ACCESSORY DEVICES (検出されたアクセサリーデバイスに基づく電子デバイスのための動的ユーザーインターフェーススキーム)
出願人名:Apple Inc.
公開日:2025年9月11日
公開番号:US 2025/0286946 A1
https://patents.google.com/patent/US20250286946A1/en?oq=2025%2f0286946
デバイスが「状況」を自動で判断する
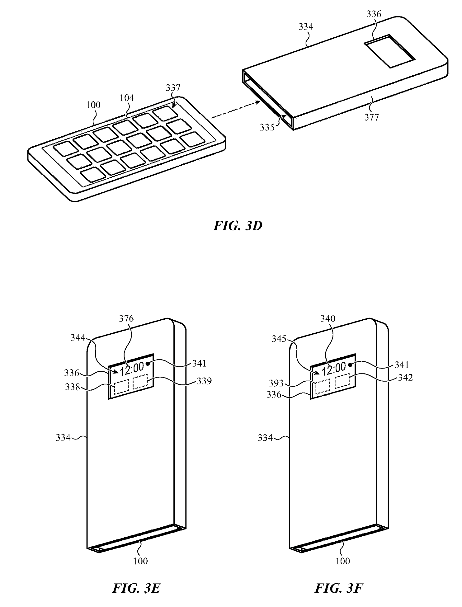
この特許のコアとなるのは、電子デバイスがアクセサリーを検知した瞬間に、通常のメイン画面(プライマリUI)から、その状況に最適な特別な画面(セカンダリUI)へと自動的に切り替わる仕組みです。
デバイスがアクセサリーを検出するために使われるのは、近距離無線通信システム(NFCなど)が使われます。
- 検出の仕組み
例えば、デバイスの周囲を覆う保護ケースのシェル部分には、デバイス側の近距離無線通信アンテナによって感知される**受動アンテナ(パッシブアンテナ)**が組み込まれていることがあります。 - UIの切り替え
デバイスは、この無線通信を通じてアクセサリーの存在や種類を把握し、それに応じて画面のアイコンの配置、色、背景画像、さらにはデバイスの動作モードまでを自動的に変更します。
この機能により、ユーザーが設定を変更する手間なく、デバイスがTPO(時と場所、場合)に合わせて「着替える」ように変化します。

TPOに合わせた画面への「変身」事例
特許明細書の記載では、デバイスがアクセサリーに応じて変化する具体的な応用例が数多く示されています。
- 場所に基づくモード変更
- 充電ドック(目覚まし時計モード)
電子デバイスを充電ドックや充電サポート構造に置くと、UIは即座にアラームクロック機能が中心の表示に切り替わります。 - ロケーション連動
デバイスを設置する場所(寝室のドック、キッチンのドック、ジムのドックなど)に応じて、デバイスが異なる動作モードを開始します。例えば、キッチンに置いた場合、レシピやタイマー、あるいはホームオートメーションの操作が表示されるUIに変化します。

- 活動に基づく機能特化
- ワークアウト・アクセサリー
デバイスをアームバンドなどの運動用アクセサリーに装着すると、自動的にフィットネストラッキングアプリケーションが開始されたり、速度や距離、心拍数といった運動データを表示するUIに変わったりします。 - 車載ドック
車載ドック(カー・ドック)にデバイスがセットされると、音楽再生や一時停止などのオーディオコントロールが表示されるUIに切り替わるほか、運転中の注意散漫を避けるためにメッセージ通知が抑制されるモードに設定される可能性もあります。

- ケースによる機能追加・制限
- ウォレットケース
カードウォレットアクセサリーがデバイスの背面に装着されると、UIは銀行カードの画像やウォレット関連の通知など、ウォレット機能に関連するグラフィカルオブジェクトを表示します。

- 保護ケース(制限モード)
保護ケースを装着した際、特定のアイコンのセットが制限されたり、特定のアプリケーションへのアクセスのみを許可する使用制限モード(例:子供による使用)にUIが移行することが可能です。

このAppleの特許出願は、アクセサリーを「デバイスの拡張機能」として捉え、物理的な装着や配置という動作一つで、デジタル体験が自動的に最適化される、シームレスでパーソナライズされた未来を示唆しています。今後の展開が楽しみですね。