はじめに
空間コンピューティング(XR)のUI設計において、最も困難な課題の一つは「ユーザーの物理的な動き」と「仮想空間の操作」の間のギャップを埋めることです。Appleが公開した特許出願「US 2026/0086652 A1」は、人間の解剖学的制約を逆手に取り、数学的に「操作の揺らぎ」を排除する高度なマッピング手法を提案しています。
発明の名称: MOTION MAPPING FOR CONTINUOUS GESTURES USING USER-CENTRIC COORDINATE SYSTEM(ユーザー中心の座標系を用いた連続ジェスチャのモーションマッピング)
出願人名: Apple Inc.
公開日: 2026年3月26日
公開番号: US 2026/0086652 A1
https://www.j-platpat.inpit.go.jp/c1801/PU/US-A-2026-0086652/50/ja
従来技術の限界:平面マッピングと「アーク運動」の衝突
従来のハンドトラッキングUIの多くは、手の3次元的な移動量をそのまま2次元の平面座標(X-Y軸)に投影、あるいは単純な線形変換を行っていました。
しかし、人間の腕は肩、肘、手首を支点とした関節構造であり、その動きは本質的に「弧(アーク)」を描きます。
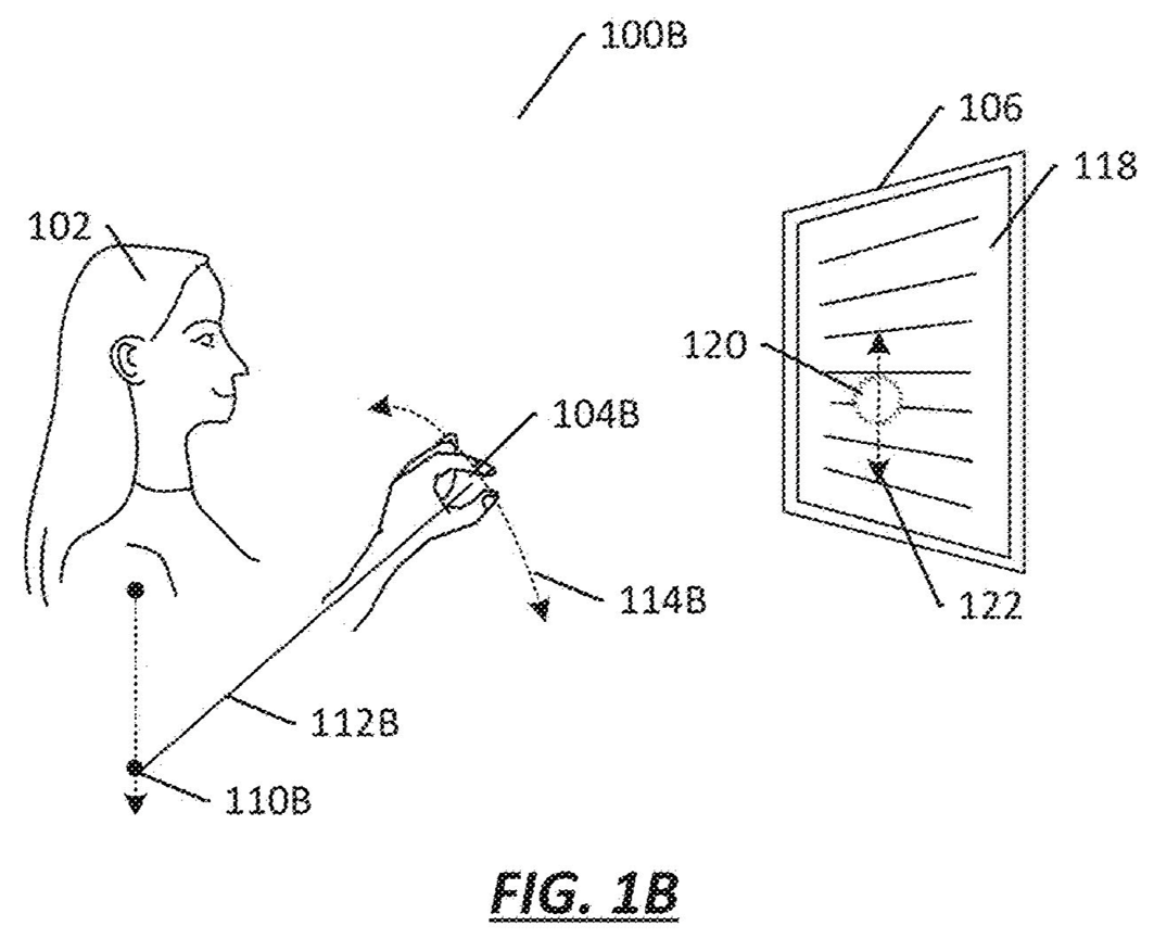
・図1Aの示す課題
ユーザーが空中で手を上下に動かす際、肩を支点とした半径112Aの弧を描きます。

発生するズレ: この弧状の動きを単純な平面にマッピングすると、意図しない方向へのズレや「ジッター(震え)」、さらにはポインターの非線形な加速が発生し、操作精度を著しく低下させてしまいます。
解決策:ユーザー中心の球面座標系(User-Centric Spherical Coordinate System)
Appleの提案する技術は、入力をあらかじめ球面座標系で捉え、その「弧の長さ(Arc Length)」を2D平面に投影するプロセスにあります。
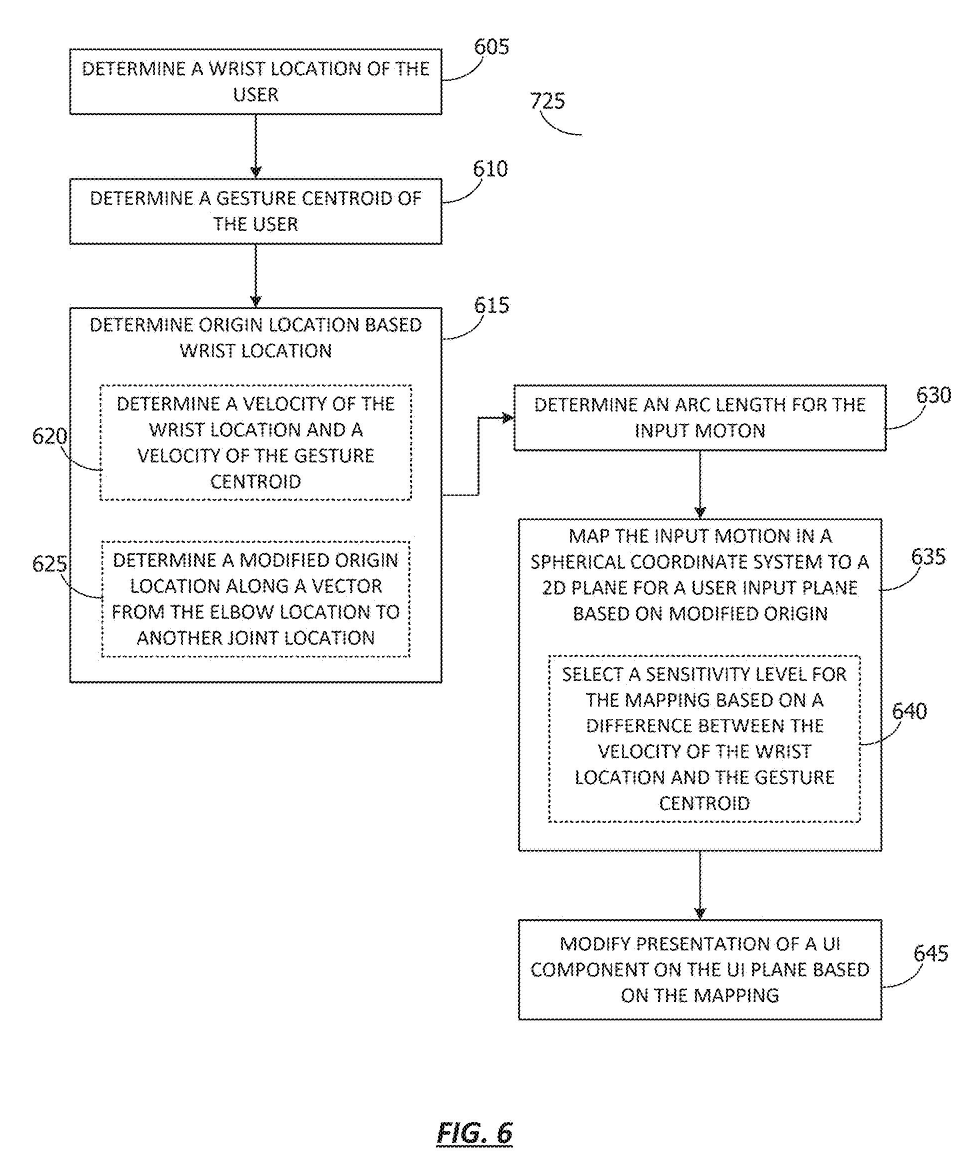
動的な原点(Origin)の決定
この技術が秀逸なのは、座標系の「原点」を固定せず、ユーザーのポーズに応じて動的に変更する点です。
腕を伸ばしている時は「肩(408)」を原点としますが、肘を曲げて手を手元に引き寄せると、システムは自動的に原点を「肘(410)」や「手首(412)」、あるいは重力ベクトルに沿った仮想点へとシフトさせます(FIG. 1B & FIG. 4)。


エンジニアリング上の利点
これにより、リラックスして膝の上で指を動かす微細な操作と、腕を大きく振る操作の両方で、一貫した「操作の重み(Gain)」と精度を維持できます。
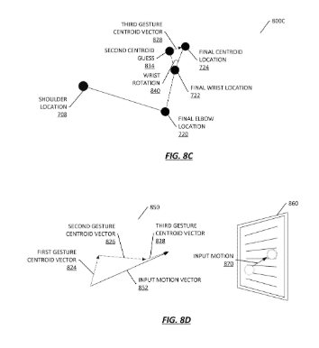
バイオメカニカル・チェーンの分解と「失われた動き」の復元
さらに高度なアプローチとして、本特許では腕の動きを各関節の回転角に分解する手法(Decomposing the biomechanical chain)が詳述されています。
最終的な「ジェスチャ・セントロイド(操作の中心点、例えばピンチした指先など)」の移動を、以下の3つのベクトルの合算として解析します(FIG. 8A-8D & FIG. 9)。
- 肩の回転に起因する変化量
- 肘の回転に起因する変化量
- 手首の回転に起動する変化量



なぜ「分解」が必要なのか?
単に指先の座標を追跡(ポイント・ツー・ポイント)するだけでは、センサーのノイズや、ある関節の動きを別の関節が打ち消してしまう「ロスト・モーション」を判別できません。各関節の回転角から推論される「推定位置(Guess)」と実際の観測値を比較することで、システムはユーザーが「どの関節を主役にして操作しようとしているか」という意図を正確に抽出します。
注目すべき実装パラメータ
本技術の実装において、Appleは以下の動的な調整を組み込んでいます。
感度の適応(Sensitivity Level)
手首の速度とジェスチャの中心点の速度差に基づいて、マッピングの感度をリアルタイムに選択します(FIG. 6/Block 640)。

距離によるゲイン制御
手が体から離れるほど、意図しない揺れが拡大するため、投影時のゲインを減衰させる処理が含まれています 。
まとめ
この特許技術(US 2026/0086652 A1)は、Apple Vision Proのようなデバイスにおいて、なぜ「視線と指先だけ」でデスクトップ級の精密な操作が可能なのかを示す、数学的な裏付けの一つと言えるでしょう。
単なる「トラッキング」を超え、解剖学的な「動作モデル」を介在させることで、人間の不完全な物理運動を、デジタル空間における完全な直線的意図へと変換していることがわかります。
https://www.apple.com/jp/legal/privacy/data/ja/eyes-hands/