2025年11月、日本では初めてのデフリンピックが開催されています。これは、手話をはじめとする、ろう者の文化(デフ・カルチャー)が持つ独自の力強さに光が当たる、歴史的なイベントです。
https://deaflympics2025-games.jp/
デフリンピックの開催は、スポーツイベントであると同時に「聞こえ」の多様性について考える絶好の機会でもあります。聴覚障害を持つ人々にとって、その選択肢は手話だけではありません。テクノロジーの進歩は、「音を聞く」という感覚を根本から変えるデバイスを生み出しました。その代表格が「人工内耳(Cochlear Implant)」です。
しかし、この人工内耳、日本ではその普及率が他の先進国に比べて低い水準にあると言われています。少し古い統計ですが、2015年時点での国内装用者数は1万人超であるのに対し、聴覚障害で身体障害者手帳を持つ人は約44.8万人(2018年時点)と、その間には大きなギャップがあります。
この「普及の壁」は、一体どこにあるのでしょうか。そして、そもそも人工内耳という技術は、どのような技術によって成り立っているのでしょうか。
今回は、人工内耳の技術的基盤を築いた「代表的な特許」を取り上げ、その仕組みを解き明かすとともに、テクノロジーが次に取り組むべき「未来への課題」について考察したいと思います。
「音」から「言葉」へ:世界を変えた特許
人工内耳の歴史には多くの先駆者がいますが 、現代のデバイスの「基本設計」を確立し、商業的にも大きな成功を収めた中核的な特許として、オーストラリアのグレアム・クラーク教授(メルボルン大学)のチーム(後のCochlear Limited社)による発明が挙げられます 。
特許番号: US4532930A
https://patents.google.com/patent/US4532930A/en?oq=US4532930A
発明の名称:Cochlear implant system for an auditory prosthesis (聴覚補綴のための人工内耳システム)
出願人:Commonwealth Of Australia (オーストラリア連邦)
登録日: 1985年8月6日

「革新的」発明の理由
この特許が登場する前、初期の人工内耳は「単一チャンネル」が主流でした。これは、1つの電極で聴神経を刺激するもので、音の存在やリズムは分かっても、言葉を明瞭に聞き分けることは困難でした。
人間の内耳(蝸牛)は、場所によって異なる周波数(音の高さ)を感じ取る精巧な仕組み(トノトピー)を持っています。例えば、蝸牛の入口は高音を、奥は低音を感知します。

US4532930A特許の革新性は、この生物学的な仕組みを工学的に模倣(ミミック)するシステムを構築した点にあります 。
このシステムは、大きく分けて以下の要素で構成されます。
- 外部のスピーチプロセッサ
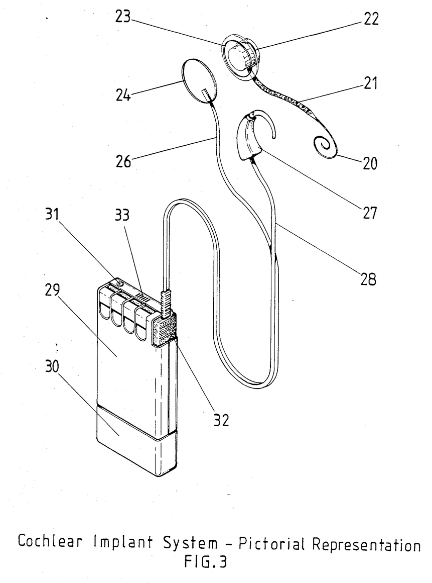
マイクで拾った音声を分析し、「高音」「中音」「低音」といった複数の周波数成分に分解する体外式の装置。 - 内部の多チャンネル電極アレイ
蝸牛の内部に外科的に挿入される、複数の電極。
この特許の革新的技術は、この2つの「連携方法(マッピング)」にあります 。
プロセッサが分析した「高音」の信号は、蝸牛の「入口」に近い電極だけに送られ、「低音」の信号は「奥」にある電極だけに送られます。
これにより、単なる音の刺激ではなく、脳が「言葉」として認識できる「音の高さ(周波数)の違い」を、電気信号の「場所の違い」として届けることに成功したのです。
この「多チャンネル・システム」こそが、人工内耳装用者が補聴器では効果のなかった「言葉の明瞭な聞き取り(オープンセット音声理解)」を達成する道を拓く、革新的ブレークスルーでした。
この特許技術を基盤として、Cochlear Limited社が設立され、現在(オーストリアのMED-EL社 、米国のAdvanced Bionics社と並ぶ)人工内耳業界のリーダーとなっています。
今後の人工内耳開発:「使いたい」デバイスになるために
グレアム・クラーク教授のチームによるUS4532930A特許は、「音を言葉としてどう伝えるか」という根本的な問いに答えた、1980年代の歴史的な発明でした。
そして今、技術革新の最前線は、「いかにして、その技術を成人が『使いたい』と思えるデバイスにするか」という、より人間中心的な、装用の壁に対する問いに移っています。
- 外観・装着感の壁:「完全埋め込み型」へ
成人、特に社会的にアクティブな層にとって、耳に外部機器(プロセッサ)を装着し続けることへの抵抗感は、普及を妨げる大きな心理的障壁です。この課題の根本的解決策が、完全埋め込み型人工内耳(TICI)です。米国のEnvoy Medical社などが開発中の「Acclaim」インプラント は、マイク、プロセッサ、バッテリーの全てを皮下に埋め込み、外部機器を一切不要にすることを目指しています。
https://www.youtube.com/watch?v=eVK-F7Gecwk
- 医療的制約(MRI)の壁:「MRI適合性」の追求
人工内耳は内部に強力なマグネットを使用するため、脳検査などで不可欠なMRI(磁気共鳴画像)検査が受けられない、という大きな制約がありました。この問題を解決するため、MED-EL社やAdvanced Bionics社などは、MRIの強力な磁場内でも回転したり外れたりしない、特殊な「MRI適合マグネット」の特許を取得し、実用化しています。これにより、装用者はインプラントを気にせず必要な医療検査を受けられるようになりつつあります。
https://patents.justia.com/patent/11660447
- 外科的・心理的な壁:「低侵襲・聴力温存」へ
手術そのものへの恐怖感や、まだわずかに残っている聴力(残存聴力)が手術によって失われることへの懸念は、特に後天的に難聴となった成人患者が移植をためらう大きな理由です。このような課題に対して、蝸牛組織へのダメージを最小限に抑える、非常に柔軟で細い電極の開発が進んでいます。
https://pmc.ncbi.nlm.nih.gov/articles/PMC4921065/
- 利便性の壁:「遠隔医療」の活用
人工内耳は、術後も「マッピング」と呼ばれる音の調整のために、専門病院へ定期的に通う必要があります。これが多忙な成人や、遠隔地に住む高齢者には大きな負担となります。この物理的障壁を解消するのが「リモート・プログラミング」です。自宅にいながら遠隔医療を通じて専門家による調整を受ける試みが進んでいます。
https://pmc.ncbi.nlm.nih.gov/articles/PMC4641792/
技術が「聞こえの壁」を越えた先に、今度は「普及の壁」を越えるための挑戦が現在も続いています。デフリンピック開催を期に、人工内耳に対する理解を深めてみてはいかがでしょうか?