はじめに
今回は、Apple Inc.によって出願され、2025年10月2日に公開された特許公開公報 US 2025/0308145 A1に記載されている、「リアルタイム虹彩検出と拡張」(REAL TIME IRIS DETECTION AND AUGMENTATION)の技術内容、そしてこの技術が搭載されている「Apple Vision Pro」のペルソナ(Persona)機能について詳説していきます。
発明の名称:REAL TIME IRIS DETECTION AND AUGMENTATION
出願人名:Apple Inc.
公開日:2025年10月2日
公開番号:US 2025/0308145A1
https://www.j-platpat.inpit.go.jp/c1801/PU/US-A-2025-0308145/50/ja
「目の表現」をリアルタイムに反映させる
この発明の主要な目的は、仮想環境(XR環境)におけるユーザーのアバターを生成する際、特に目の表現に現実世界の照明効果をリアルタイムで反映させることで、アバターのリアリティと表現力を劇的に高めることにあります。
仮想環境において、アバターの目は感情、意図、注意の方向など、多くの情報を伝える重要な要素であり、そのリアルな表現は、ユーザー間の対話や没入感を高める上で非常に重要です。
Apple Vision Proの「ペルソナ」機能は、ユーザーがHMDを装着しているにもかかわらず、FaceTime通話などで極めてリアルな本人らしい存在感を実現するために使用されており、そのリアリティの鍵を握るのが、目の表現への環境光の正確な反映なのです。
目の仮想表現を生成する基本的な流れ
この発明の核となるプロセスは、図1に示されるフローチャート100によって概説されます。このプロセスは、HMDを装着したユーザー(112)の仮想表現の目を生成し、現実的な照明効果を適用する一連のステップで構成されています。

- トラッキングデータの取得(ステップ110)
まず、顔のトラッキングデータ(顔の特徴、頭部のポーズ、目のトラッキングデータなど)を取得します。これは、HMD(114)を装着したユーザーから取得されます。 - 目領域の特定(ステップ120)
取得したトラッキングデータから、目の開口部や目の周囲のランドマークに対応する一組のマーカーに基づき、目領域(122、124)を特定します。 - ユーザーの視線方向の決定(ステップ130)
目のトラッキングデータや、ジャイロスコープ、加速度計などのセンサーデータを用いて、ユーザーの視線方向(矢印132)を決定します。 - 環境のライティングマップの取得(ステップ140)
現実環境または仮想環境におけるライティングの表現を示すライティングマップ(Lighting Map 144)を取得します。これは、周囲光センサーや環境の仮想表現に対応するライティングデータから取得されます。 - ライティング効果の適用(ステップ150)
ライティングマップに基づいて、目領域の仮想表現にライティング効果を適用します。これにより、ライティングマップに対応する光の反射を反映した、よりリアルな目の表現(152、154)が生成されます。
虹彩の特定とリアルな光の表現
ペルソナのリアリティを飛躍的に向上させるためには、目の最も光を反射する部分である虹彩への照明効果の適用が欠かせません。図2のフローチャート200は、この虹彩処理の詳細を示しています。

- 被写体の目の画像データの取得(ステップ210)
HMD内蔵カメラから、被写体の目の画像データ(212L、212R)を取得します。 - 目領域マーカーの特定(ステップ220)
目の開口部のランドマーク(例:222A~222H)を特定します。 - 目領域の特定(ステップ230)
特定されたマーカーから目領域(232L、232R)を決定します。 - 色差に基づく虹彩領域の決定(ステップ240)
目領域内の色差(Color Differential)に基づいて虹彩領域を決定します。虹彩領域(244L、244R)は、強膜領域(242L、242R/白目)とは異なる色合いを持つため、この情報を用いて正確に特定されます。 - 環境マップに基づくライティング効果の適用(ステップ250)
決定された虹彩領域に対して、環境マップに基づくライティング効果を適用します。この処理では、環境のライティングに対応した鏡面反射(グレアまたはきらめき)を虹彩領域に追加するように、仮想表現が調整されます。これにより、生き生きとした目の見た目(256、または252L、254R)が生成されます。
この技術こそが、Vision Proの「ペルソナ」が、ユーザーが置かれた現実の部屋の照明や、仮想空間の照明をリアルタイムで解析し、その光を正確に目に反射させることを可能にし、アバターが「死んだ目」になるのを防いでいます。
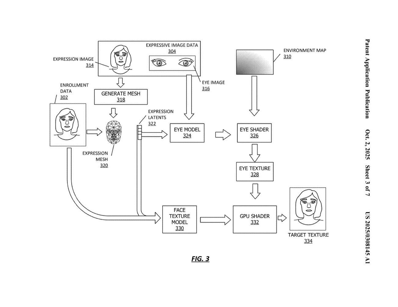
仮想ペルソナ生成パイプラインへの統合
目のリアルタイム照明拡張技術は、ペルソナ全体のテクスチャ生成パイプラインに組み込まれています。図3は、そのモデル生成の流れを示しています。

ユーザーの登録データ(302)や表情画像データ(304)から顔のメッシュ(318)や表情潜在変数(322)が生成されます。目の画像(316)と環境マップ(310)は、アイシェーダー(Eye Shader 326)に入力されます。このアイシェーダー326が、環境のライティング情報に基づき、リアルな光の反射を含むアイテクスチャ(328)を生成する役割を担います。
生成されたアイテクスチャ328は、顔テクスチャモデル(330)と結合され、最終的にGPUシェーダー(332)によって処理され、リアルな顔テクスチャであるターゲットテクスチャ(334)として出力されます。これにより、目の照明効果がペルソナのレンダリングにおいて詳細かつ独立して制御されます。
Apple Vision Proにおける実装環境
HMD構成(図4)
ヘッドマウントデバイス(HMD 400)は、目のトラッキングと環境ライティングの取得に特化した構造を持っています。HMD 400には、ユーザーの目(420L、420R)の画像データをキャプチャするためのカメラ(410A、410B)や、目のトラッキングを支援するために目を照明する発光体(405A、405B、赤外線LEDなど)が内蔵されています。これらの高性能なアイトラッキングシステムが、必要なトラッキングデータや画像データをリアルタイムで取得しています。

分散処理フロー(図5)
ペルソナの生成は、送信側デバイスA(505)と受信側デバイスB(510)の間でフレームごとに分散処理される場合があります。
デバイスA(505)(例:Vision Pro本体やトラッキングモジュール)は、画像データのキャプチャ(512)、顔と目のトラッキング(514)、ペルソナジオメトリ(516)やテクスチャ(520)の生成、および目領域の決定(522)を行い、これらのデータをデバイスB(510)に送信します(524)。
デバイスB(510)(例:別の通話参加者のデバイス、またはローカルレンダリングエンジン)は、ライティングマップを取得(526)し、受け取ったデータと組み合わせてペルソナをレンダリング(528)します。この設計により、目のライティング効果は、ペルソナが表示される環境(デバイスB側の環境)に応じて動的に調整されます。

まとめ
本発明の「リアルタイム虹彩検出と拡張」技術は、単なる目のスキャンを超え、アイトラッキングデータと色差に基づく虹彩の正確な特定、そして環境のライティングマップを利用した鏡面反射(グレア)の動的な付加という多層的な処理を通じて、仮想表現に生命を吹き込みます。この技術は、Apple Vision Proの「ペルソナ」機能の基盤として、仮想世界におけるアバターの存在感と感情表現を、これまでにないレベルのリアリティへと引き上げている重要な技術的要素です。
この技術は、まるで現実世界の照明が魔法のフィルターを通り、仮想のアバターの目に反射されるようなものであり、仮想空間での対話に、より深い感情的なつながりをもたらすものといえるでしょう。