イントロダクション
脱炭素化、電動化、デジタル化が同時進行する時代において、レアアースやレアメタルといった希少資源の確保は、産業競争力と経済安全保障を左右する重要テーマになっています。電気自動車、風力発電、スマートフォン、蓄電池――こうした先端産業を支える素材は、限られた地域に偏在している一方で、国内にも副産物、廃棄物、深海底資源といった新たな供給源が眠っています。
今回のVol.58では、「資源をどう掘り起こし、どう分離し、どう循環させるか」という観点から、3つの注目特許を取り上げます。スズ精錬の副産物から高純度な希土類金属を回収する技術、水深5000m超の深海からレアアース泥を環境負荷を抑えて引き上げる回収システム、そして使用済みリチウムイオン電池から金属を低コストで回収するクローズドループ型プロセスです。
いずれも、これまで価値化が難しかった資源や、扱いが困難だった回収プロセスに対して、特許ならではの具体的な解決策を提示するものです。本号では、それぞれの発明がどんな課題を解決し、どのように次世代の資源循環インフラを支えるのかを、特許の視点から詳しく見ていきます。
廃棄物からハイテク素材へ。資源の国内循環を加速させる、スラグ・リサイクルのブレイクスルー。

スマートフォンから電気自動車(EV)、風力発電のモーターに至るまで、現代のハイテク産業やグリーンエネルギー分野において「レアアース」は決して欠かすことのできない最重要素材です。しかし、レアアースは産出される地域が世界的に偏っており、地政学的なリスクや価格高騰の波に常にさらされています。そのため、日本国内で発生する廃棄物や産業の副産物の中からレアアースを回収し、再利用する「都市鉱山」の開発が、経済安全保障の観点から急務とされています。
そんな中、有効なレアアースの供給源として密かに注目を集めていたのが、スズを精錬する工程で大量に排出される「スズスラグ(残渣物)」です。実はこのスズスラグには、全体の約5%という無視できない量のレアアースが含まれています。
しかし、これまでそれが積極的に資源として活用されてこなかったのには、大きな理由がありました。このスラグにはレアアースだけでなく、ウランやトリウムといった「放射性物質」や、レアアースと性質が似ていて分離が非常に難しい鉄、アルミニウムなどが多量に混ざり合っていたのです。一般的な回収方法では、これほど不純物だらけのスラグからレアアースだけを安全に取り出すことは困難でした。
今回は、酸化還元電位とpHのバランスを緻密にコントロールすることで、最も厄介な「放射性物質」をプロセスの最初で安全に取り除き、最終的に99.99%という極めて純度の高いレアアースを抽出するまでに至った、その驚くべき分離・抽出プロセスの全貌に迫ります。
スズ精錬の副産物から希少資源を抽出する「希土類金属回収方法」
スマートフォンやハイブリッド自動車のモーター、風力発電機など、現代のハイテク製品やグリーンエネルギー分野に欠かせない素材である「レアアース(希土類金属)」。その需要は世界的に高まっていますが、産出可能な鉱山が特定の地域に偏っているため、安定供給の確保が多くの国にとって経済安全保障上の重要課題となっています。日本でも、廃棄物や副産物の中からレアアースを効率よく回収する「都市鉱山」やリサイクル技術への期待がますます高まっています。
今回紹介するのは、スズ精錬の過程で生じる「スズスラグ」という残渣(残りカス)から、有用なレアアースを安全かつ高純度に取り出すという、三菱マテリアルテクノ株式会社が取得した特許(特許第5825074号)です。
1.背景と課題
スズ精錬工程で発生する残渣物(スズスラグ)には、約5wt%という無視できない量の希土類金属が含まれており、有効なレアアースの供給源として活用できる可能性を秘めています。しかし、このスズスラグには希土類金属の他に、ウラン(U)やトリウム(Th)といった「放射性物質」や、希土類金属との分離が難しい「鉄」や「アルミニウム」などの不純物が多量に含まれています。
【参考】特許5880131号(https://www.j-platpat.inpit.go.jp/c1801/PU/JP-5880131/15/ja)
従来の方法では、このように不純物(特に放射性物質)が圧倒的に多いスラグから、希土類金属のみを選択的に、かつ安全に回収することが困難であるという課題がありました。
どんな発明?
2−1.発明の目的
本発明は、放射性物質や分離が難しい鉄・アルミニウムなどを多く含むスズスラグから、希土類金属を容易かつ確実に選択的に回収することができる方法を提供することを目的としています。
2−2. 発明の詳細
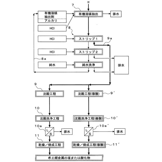
本発明は、化学的な処理(酸化還元電位とpHの緻密なコントロール)を用いて、不純物を段階的に取り除いていくプロセスに特徴があります。特許公報の図やフローチャートを用いて解説していきます。
①スラグの粉砕と無機酸浸出(工程1〜2)
まず、スズスラグを粉砕(1)し、「硫酸浸出工程(2)」において安価で設備負荷の低い無機酸(硫酸)を用いてスラグを溶解させます。

②放射性物質の早期除去(工程3〜4)
次に「第1の酸化・中和工程(3)」において、溶解液に酸化剤と中和剤を加えます。ここが重要なポイントで、中和液の酸化還元電位を「-1.0〜0.2V」、pHを「1〜7」に調整(第1の条件)します。この条件により、希土類金属や鉄は沈殿させず、放射性物質(U、Th)や一部のその他金属のみを選択的に沈殿させ、「第1のろ過工程(4)」で真っ先に除去します。全工程の初期段階で放射性物質を取り除くことで、後工程での放射線管理の負担を大幅に軽減しています。
②鉄分の除去(工程5〜6)
続いて「第2の酸化・中和工程(5)」において、今度は酸化還元電位を「0.7〜1.4V」、pHを「-0.5〜7」に調整(第2の条件)します。これにより、スラグ中に多量に含まれる鉄(Fe)を酸化して水酸化鉄として沈殿させ、「第2のろ過工程(6)」で除去します。この時、カルシウム系の中和剤を用いることで石膏を生成させ、本来ろ過しにくい水酸化鉄のろ過性を向上させる工夫もなされています。
④有機溶媒抽出と逆抽出(工程7〜8)

鉄や放射性物質を取り除いた液を「有機溶媒抽出工程(7)」に送り、希土類金属を有機溶媒側に抽出します。さらに「ストリップ工程(8)」で塩酸などを用いてpHを段階的に下げながら液中へ逆抽出(ストリップ)することで、残っていた他の金属を分離します。
⑤高純度化(工程9〜11)
最後に「沈殿工程(9、9')」で蓚酸などを加えて希土類金属を選択的に沈殿(蓚酸沈殿)させ、アルミニウムや亜鉛などを分離します。それを洗浄し、「乾燥/焼成工程(11、11')」を経ることで、最終的に高純度な希土類金属の塩または酸化物を得ることができます。
そして、最終的な製品はTRE(希土類金属)が99.99%という極めて高い純度となります。

3.ここがポイント!
最大のポイントは、単に酸で溶かすだけでなく、「第1の条件」と「第2の条件」という異なる酸化還元電位・pHのバランスを使い分け、厄介な不純物を「順番に」沈殿させて取り除くプロセスを確立した点にあります。
特に、安全管理上最もハードルが高い「放射性物質」を全工程の最初(第1の酸化・中和工程)に沈殿させて除去する仕組みにしたことで、その後の工程における放射性物質の影響を無くし、回収処理全体を容易かつ安全なものにした点は、極めて実用性の高い画期的なアプローチと言えます。
4.未来予想
電気自動車(EV)や再生可能エネルギー技術の普及により、レアアースの需要は今後も増加の一途をたどると予測されています。一方で、新たな鉱山開発に伴う環境負荷や、地政学的な供給リスクは高まるばかりです。
本特許のように、これまで不純物(特に放射性物質)が多く利用価値が低い「単なる廃棄物」と見なされていた製錬スラグから、高純度なレアアースを安全に取り出せる技術は、資源の国内循環(サーキュラーエコノミー)を推進する上で不可欠なピースとなります。将来的には、この緻密な分離・抽出プロセスが他の非鉄金属製錬の副産物や都市鉱山のリサイクルプラントへも応用され、日本の安定的かつクリーンな資源確保(経済安全保障)に大きく貢献していくことが期待されます。
5.特許情報
| 掲載特許情報 | https://www.j-platpat.inpit.go.jp/c1801/PU/JP-5825074/15/ja |
| 発明の名称 | 希土類金属回収方法 |
| 出願番号 | 特願2011-261557 |
| 公開番号 | 特開2012-224943 |
| 特許番号 | 特許第5825074号 |
| 出願日 | 2011.11.30 |
| 公開日 | 2012.11.15 |
| 登録日 | 2015.10.23 |
| 審査請求日 | 2014.7.31 |
| 出願人 | 三菱マテリアルテクノ株式会社 |
| 発明者 | 持田 裕美 酢屋 力 宮本 卓裕 飯島 大介 |
| 国際特許分類 (IPC) | C22B 59/00 (2006.01) C22B 7/04 (2006.01) C22B 3/06 (2006.01) |
| 経過情報 |
水深5000mの宝箱。深海生態系を守りながら「レアアース」を引き上げる回収システム。

電気自動車(EV)のモーターやスマートフォン、風力発電機など、現代のハイテク産業やグリーンエネルギー分野に不可欠な「レアアース」。しかし、現在その生産は一部の国に大きく依存しており、国際情勢の変動による供給不安や価格高騰のリスクが常に伴っています。経済安全保障の観点から自前での資源確保が急務となる中、日本の排他的経済水域(EEZ)内の深海底に、莫大な量のレアアースを含む「レアアース泥」が存在することが確認されました。これは日本の資源問題を根本から解決する「未来の宝箱」として大きな期待を集めています。
しかし、宇宙空間にも匹敵すると言われる水深5000mを超える過酷な深海環境から、いかにして泥を引き上げるのか。これまでの海洋資源採取技術は比較的浅い海底の流体資源を対象としたものが主流であり、深海の泥を効率的かつ環境に配慮して大量に回収する技術は未だ確立されていませんでした。海底の泥をそのままかき回せば、広範囲に泥が巻き上がり深海生態系に深刻なダメージを与えてしまいます。また、5000mの深海から強大な圧力で泥を吸い上げようとすると、圧力のバランスが崩れて泥水が海底から噴き出す「ボイリング現象」を引き起こす危険性もありました。
今回は、海底に巨大な管を突き刺して「隔離された密閉空間」を作り出すことで環境負荷を極小化する仕組みや、流路の緻密な切り替えによってボイリングを防ぎながら泥を安全に一気に海上へと吸い上げる、世界をリードする深海エンジニアリングのメカニズムに迫ります。
水深5000mから未来の資源を引き上げる「レアアース泥の回収システム」
電気自動車(EV)のモーターや風力発電機、スマートフォンなど、現代のハイテク産業やグリーンエネルギー分野に不可欠な素材である「レアアース(希土類)」。しかし、現在レアアースの生産は特定の国に大きく依存しており、国際情勢の変動による供給不安や価格高騰のリスクが常に伴います。経済安全保障の観点から、各国が供給網の多様化を模索する中、日本の排他的経済水域(EEZ)内の深海底(水深5000m超)に、莫大な量のレアアースを含む「レアアース泥」が存在することが確認されました。
この純国産の海底資源は、日本の資源問題を根本から解決する可能性を秘めています。 しかし、宇宙空間にも匹敵すると言われる過酷な深海環境から、いかにして泥を引き上げるのか。今回は、その大きな技術的壁を突破するために国立研究開発法人海洋研究開発機構(JAMSTEC)が特許を取得した、レアアース泥の革新的な回収システム(特許第6774079号)について解説します。
1.背景と課題
全世界の海洋底にはマンガンノジュールなどの固体鉱物資源が存在しており、近年では水深5000mを超える深海の海底下にもレアアースを含む「レアアース泥」の層が存在することが確認され、新たな資源として着目されています。
【参考】 細樅侑貴穂ら 「海底資源マンガンノジュールの魅力と課題」 Bull. Soc. Sea Water Sci., Jpn., 66, 308-313(2012)
https://www.jstage.jst.go.jp/article/swsj/66/6/66_308/_pdf/-char/en
しかし、これまでの海洋資源採取技術は、比較的浅い海底や石油・天然ガスなどの流体を対象としたものが主流であり、水深5000mを超える超深海から、泥状の鉱物資源(レアアース泥)を効率的かつ環境に配慮しながら大量に採取・回収する技術は未だ確立されていませんでした。
どんな発明?
2−1.発明の目的
本発明は、水深5000mを超える深海の海底下の層にも適用可能であり、海中環境への負荷(泥の巻き上げによる擾乱など)を抑えつつ、効率的にレアアース泥をスラリー(流動性のある泥水状態)にして回収する方法およびシステムを提供することを目的としています。
2−2. 発明の詳細
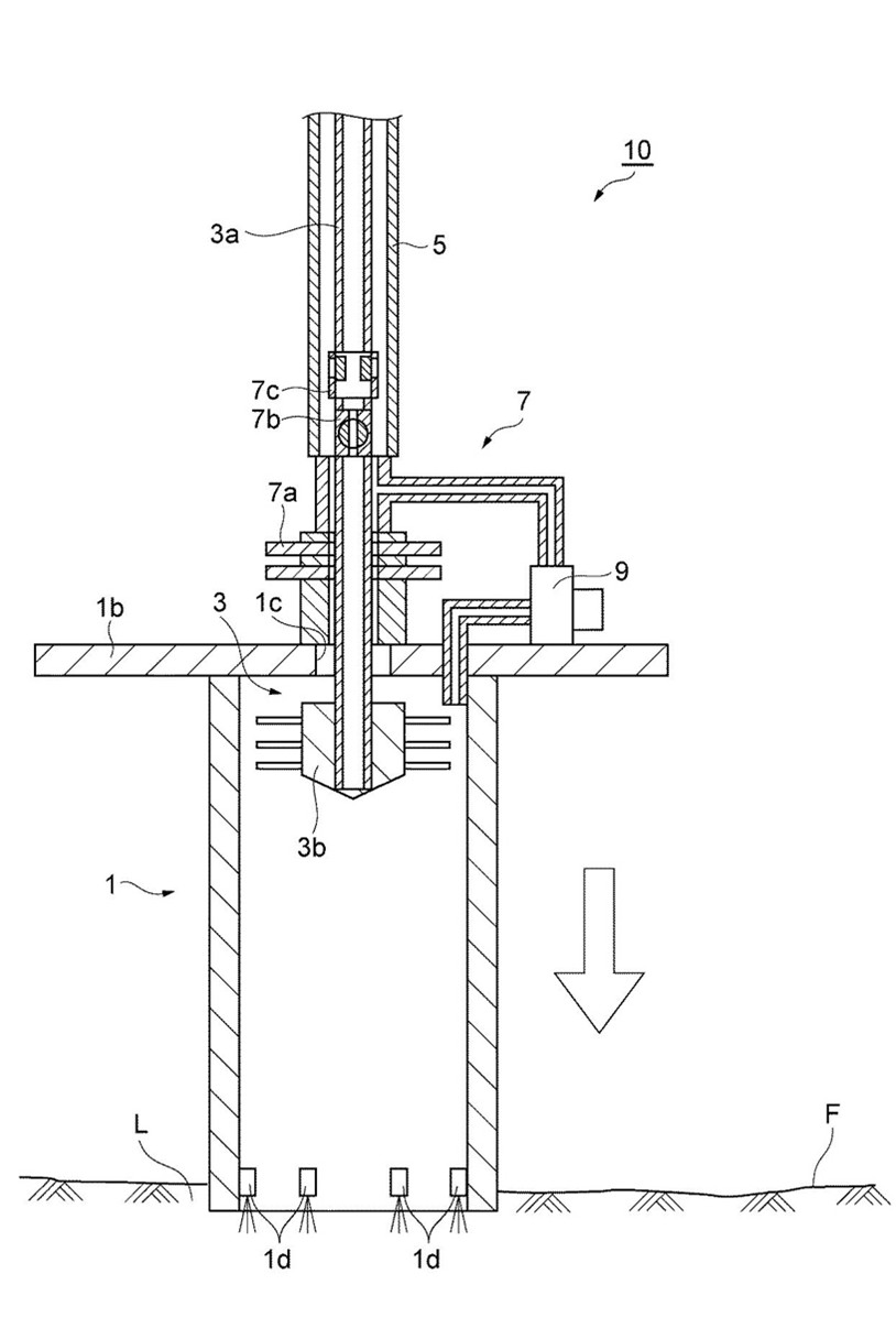
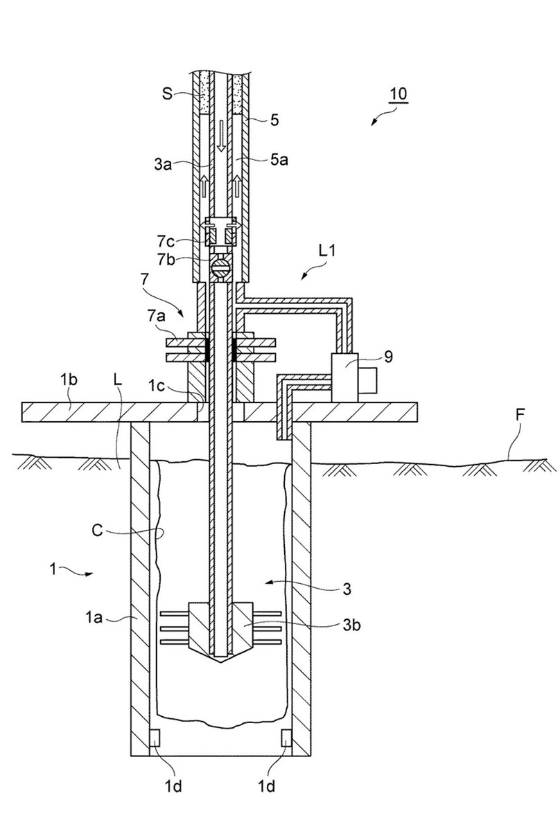
このシステムは、海底に突き刺す「集泥管」、泥をかき混ぜる「攪拌装置」、そして泥を海上へ吸い上げる「揚泥管」などで構成されており、以下のステップで回収を行います。
①海底への集泥管の貫入
まず、海上の船から揚泥管(5)を降下させ、先端に取り付けられた巨大な円筒形の集泥管(1)を深海の海底(F)下の層(L)に突き刺します。この時、集泥管の先端のノズル(1d)から海水を下方に噴射したり、ポンプ(9)で管内の海水を抜いて負圧にしたりすることで、自重とともにスムーズに泥の中へ沈み込ませます。

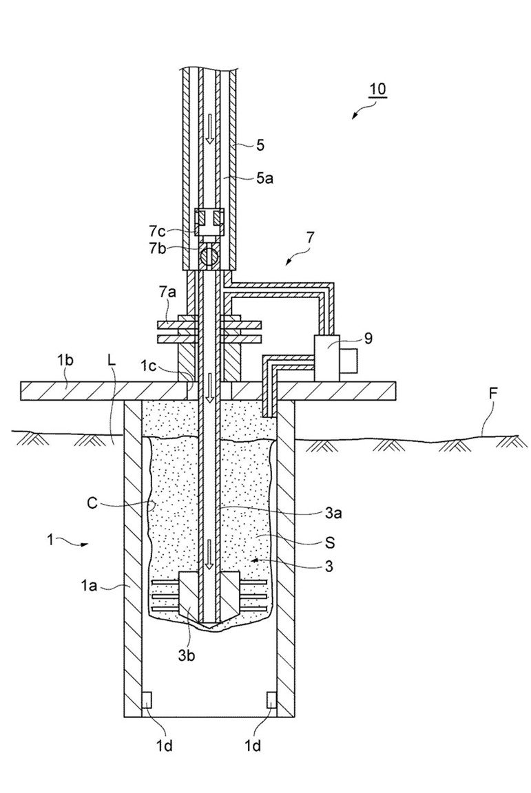
②密閉空間での解泥とスラリー化
集泥管(1)が海底に突き刺さることで、周囲の海中環境から隔絶された「密閉空間」が形成されます。ドリルパイプ(3a)の先端にあるブレード(3b)を回転させながら降下させ、海水を噴出させながらレアアース泥を解きほぐします(解泥)。これにより、集泥管の中で泥と海水が混ざり合った流動性のある「スラリー(S)」が調製されます。

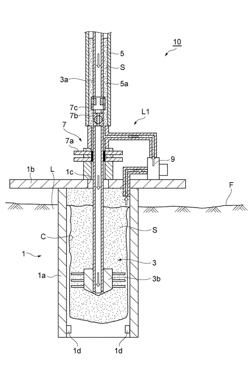
③揚泥管へのスラリーの移送(採泥)
次に、バルブなどを操作して流路を切り替え、ポンプ(9)を駆動して、集泥管(1)内に溜まったスラリー(S)をライント(L1)を通じて揚泥管(5)の中に押し上げます(移送します)。

④海上への揚泥
スラリーを揚泥管(5)に移送した後、流路切替機構(7)を操作して、「集泥管(1)と揚泥管(5)が連通しない(繋がっていない)状態」に切り替えます。その状態で、ドリルパイプ(3a)を通して海水を送り込み、揚泥管(5)内に強力な循環流を発生させることで、スラリー(S)を5000m上の海上へと一気に移送します。

3.ここがポイント!
本発明の画期的なポイントは大きく2つあります。
環境負荷を極小化する「密閉空間での解泥」
海底の泥をそのまま海中でかき回すと、泥が広範囲に巻き上がり、深海生態系に深刻なダメージ(擾乱)を与える恐れがあります。本特許では、海底に突き刺した集泥管(1)という「隔離された閉鎖空間」の中だけで解泥を行うため、周囲の海を汚すことなく、さらに揚泥に最適な濃度のスラリーを安定して作ることができます。
ボイリングを防ぐ「流路の遮断」
深海から海上までスラリーを吸い上げるには強大な圧力が必要です。もし集泥管と揚泥管が繋がったまま揚泥を行うと、その強大な圧力が集泥管内に伝わり、海底の層との隙間から泥水が外に噴き出す「ボイリング」という現象が起きてしまいます。「集泥管と揚泥管の連通を遮断してから揚泥する」という流路切替機構(7)を採用したことで、この問題を完全に回避し、安全かつ高効率な連続回収を可能にしました。
4.未来予想
この回収システムが実用化されれば、日本のEEZ内に眠るレアアース泥を商業ベースで採掘することが現実味を帯びてきます。 現在、海外からの輸入に頼らざるを得ないレアアースを自前で調達できるようになれば、ハイテク産業の国際競争力が飛躍的に高まるだけでなく、資源外交における強力なカードを持つことになります。水深5000mの漆黒の深海で稼働するこの技術は、日本の未来を支える次世代のエネルギー・資源サプライチェーンの要として、世界をリードする海洋エンジニアリングの基礎技術となるでしょう。
5.特許情報
| 掲載特許情報 | https://www.j-platpat.inpit.go.jp/c1801/PU/JP-6774079/15/ja |
| 発明の名称 | レアアース泥の回収方法及び回収システム |
| 出願番号 | 特願2020-33838 |
| 公開番号 | 特開2021-134626 |
| 特許番号 | 特許第6774079号 |
| 出願日 | 2020.2.28 |
| 公開日 | 2021.9.13 |
| 登録日 | 2020.10.6 |
| 審査請求日 | 2020.6.16 |
| 出願人 | 国立研究開発法人海洋研究開発機構 |
| 発明者 | 宮崎 英剛 川村 善久 澤田 郁郎 許 正憲 古市 幹人 秋山 敬太 難波 康広 |
| 国際特許分類 (IPC) | E21C 50/00 (2006.01) E21B 43/00 (2006.01) |
| 経過情報 | 早期審査制度を活用。分割出願の第1世代特許7430392号あり。 |
副産物のガスを「自給自足」。リチウムイオン電池リサイクルのコストの壁を打ち破るクローズドループ。

電気自動車(EV)やスマートフォンの急速な普及に伴い、現代社会の動力源として欠かせない存在となった「リチウムイオン二次電池」。しかし、その需要の裏側で、将来的に大量に発生する使用済み電池から有用な金属をいかに回収し、再利用していくかが世界的な課題となっています。
特に、電池の正極材に豊富に含まれるコバルトやニッケルといった「レアメタル(希少金属)」は、採掘地域が限られているため、廃棄物からこれらを取り出す「都市鉱山」のエコシステム構築が急務です。
使用済み電池からこれらの金属を回収する際、従来は電池を粉砕して酸で溶かした液体(浸出液)に「硫化剤」を加え、コバルトやニッケルだけを硫化物として沈殿させる方法が取られていました。
しかし、このプロセスには大きな問題がありました。沈殿させるために必要な水硫化ナトリウムや硫化水素といった「硫化剤」の薬剤コストが非常に高く、リサイクル事業全体の採算性を圧迫してしまっていたのです。
この「コストの壁」を突破したのが、三菱マテリアル株式会社が取得した特許第7533807号です。沈殿させた金属硫化物を再び酸で溶かす際に生じる「硫化水素ガス」を廃棄せず、最初の工程の「硫化剤」として還流(ループ)させることで、高価な薬剤の使用量を大幅に削減した、クローズドループのメカニズムについて解説します。
副産物のガスを「自給自足」する。使用済みリチウムイオン電池からの低コスト金属回収法。
スマートフォンや電気自動車(EV)の普及に伴い、リチウムイオン二次電池は幅広い分野で電源として利用されており、その需要は世界中で急増しています。これに伴い、使用済みの電池が廃棄された際、そこに含まれるニッケルやコバルトなどのレアメタル(希少金属)を回収し、再利用するリサイクル技術の重要性が高まっています。同時に、モーターなどに使用されるレアアース(希土類金属)を含め、特定の国や地域に偏在する希少資源を、廃棄物などの「都市鉱山」から安定的に確保することは、経済安全保障やサーキュラーエコノミー(循環型経済)の観点から喫緊の課題となっています。レアアースやレアメタルの回収プロセスは、いかに不純物を取り除き、低コストで高純度な資源を抽出するかが実用化の鍵となります。
今回は、使用済みリチウムイオン電池などに含まれる有用な金属を、画期的なアイデアで低コストかつ効率的に回収する、三菱マテリアル株式会社の特許(特許第7533807号)について解説します。
1.背景と課題
リチウムイオン二次電池の正極材には、コバルトやニッケルが豊富に含まれています。従来、使用済み電池を焼成・粉砕した材料(ブラックマス)を酸で浸出し、その浸出液からコバルトやニッケルを選択的に分離・回収する手法が知られていました。具体的には、浸出液に硫化剤を加えて、アルミニウムや鉄といった不純物を取り込まずに、水に不溶性の硫化コバルトや硫化ニッケルとして沈殿させて分離します。
しかし、この方法では、添加する硫化剤(水硫化ナトリウムや硫化ナトリウム、硫化水素など)のコストが高く、コバルトやニッケルの分離・回収プロセス全体が高コストになってしまうという大きな課題がありました。
どんな発明?
2−1.発明の目的
本発明は、水に難溶性の硫化物を形成する金属のイオン(ニッケルやコバルトなど)を含む金属溶出液から、特定の金属を、低コストで効率的に硫化物として分離させることが可能な「金属の回収方法」および「金属の回収装置」を提供することを目的としています。
2−2. 発明の詳細
この発明は、薬剤のコストを下げるために、以下の4つの主要な工程から構成されています。
①金属硫化物生成工程
コバルトやニッケルを含む金属溶出液に硫化剤を反応させ、金属硫化物(沈殿物)を生成します。
②固液分離工程
金属硫化物を含む固相(沈殿)と、液相(不要な排液)を分離します。
③金属硫化物溶解工程
分離した固相に無機酸(硫酸や塩酸など)を液温20℃以上で反応させ、金属をイオンとして再び溶解(再溶解)させます。この溶解反応の際、副産物として「硫化水素ガス」が発生します。
④還流工程
③の金属硫化物溶解工程で発生した硫化水素、または硫化水素をアルカリ性液体に吸収させて作った硫黄化合物を、①の金属硫化物生成工程の「硫化剤」の一部として再利用(還流)します。
3.ここがポイント!
最大のポイントは、金属硫化物を酸で溶かす際に副産物として発生してしまう「硫化水素ガス」を廃棄せず、前工程の「硫化剤」として自給自足的に再利用(還流)するループ構造を構築した点です。
基本となる「還流」の仕組み(第1実施形態)
次のフローチャートが示すように、「金属硫化物溶解工程(S7)」で発生した硫化水素は、「還流工程(S8)」において水酸化ナトリウム溶液に吸収され、硫化剤(硫化水素ナトリウム)として再生されます。そして、この再生された硫化剤が最初の「金属硫化物生成工程(S5)」へ戻されます。これにより、新規に購入・投入しなければならない高価な硫化剤の量を大幅に(例えば30〜80%程度)削減でき、大幅な低コスト化を実現しています。

2段階の硫化で回収効率を極める(第4実施形態)
第4実施形態のプロセスでは、金属硫化物の生成を「第1(S35-1)」と「第2(S35-2)」の2段階に分けて行っています。コバルトとニッケルを一度に完全に硫化させると酸に溶けにくい化合物ができてしまいますが、2段階に分けることで、酸に溶解しやすく硫化水素ガスを発生させやすい「ニッケル硫化物」を1段目で多く沈殿させることができます。これにより、硫化水素ガスの発生率(回収率)が向上し、さらに不純物の混入も抑えられるという一石二鳥の効果を生み出しています。

溶け残った金属も逃さない(第5実施形態)
第5実施形態では、無機酸だけでは溶け残ってしまった固形分(不溶解残渣)に対して、硫酸と「過酸化水素水(酸化剤)」を加えてさらに浸出させる「第2金属硫化物溶解工程(S47-2)」を追加しています。これにより、難溶性のコバルトやニッケルの硫化物も完全にイオン化して回収でき(金属再溶解液2)、資源のロスを極限まで減らしています。

4.未来予想
電気自動車(EV)の急速な普及に伴い、将来的に大量の使用済みリチウムイオン電池が市場から回収される「バッテリーのリサイクル時代」が本格的に到来します。その際、本特許のように、回収プロセス内で生じる副産物(ガス)を自ら再利用し、高価な薬剤の使用量を最小限に抑える「クローズドループ」の回収技術は、リサイクル事業の採算性を飛躍的に高める鍵となるでしょう。こうした低コストかつ環境負荷の少ない製錬・リサイクル技術が社会実装されることで、レアメタルやレアアースの海外依存度を下げ、国内で有用な資源を永遠に循環させ続ける強靭なサプライチェーン(都市鉱山エコシステム)の構築が大きく前進すると考えられます。
5.特許情報
| 掲載特許情報 | https://www.j-platpat.inpit.go.jp/c1801/PU/JP-7533807/15/ja |
| 発明の名称 | 金属の回収方法、金属の回収装置 |
| 出願番号 | 特願2024-19548 |
| 公開番号 | - |
| 特許番号 | 特許第7533807号 |
| 出願日 | 2024.2.13 |
| 公開日 | - |
| 登録日 | 2024.8.14 |
| 審査請求日 | 2024.6.14 |
| 出願人 | 三菱マテリアル株式会社 |
| 発明者 | 林 浩志 宮崎 淳 中山 翔太 |
| 国際特許分類 (IPC) | C22B 3/06 (2006.01) C22B 3/44 (2006.01) C22B 7/00 (2006.01) C22B 1/02 (2006.01) |
| 経過情報 | 早期審査対象出願 |
